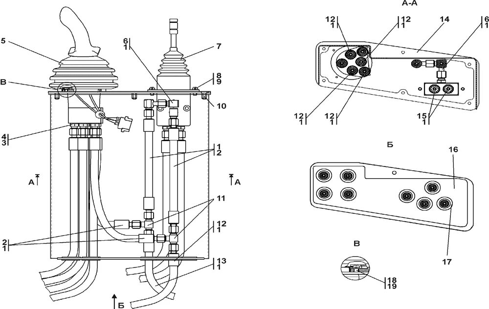
28 26 01