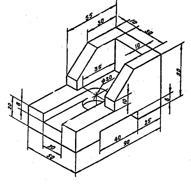
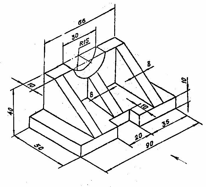
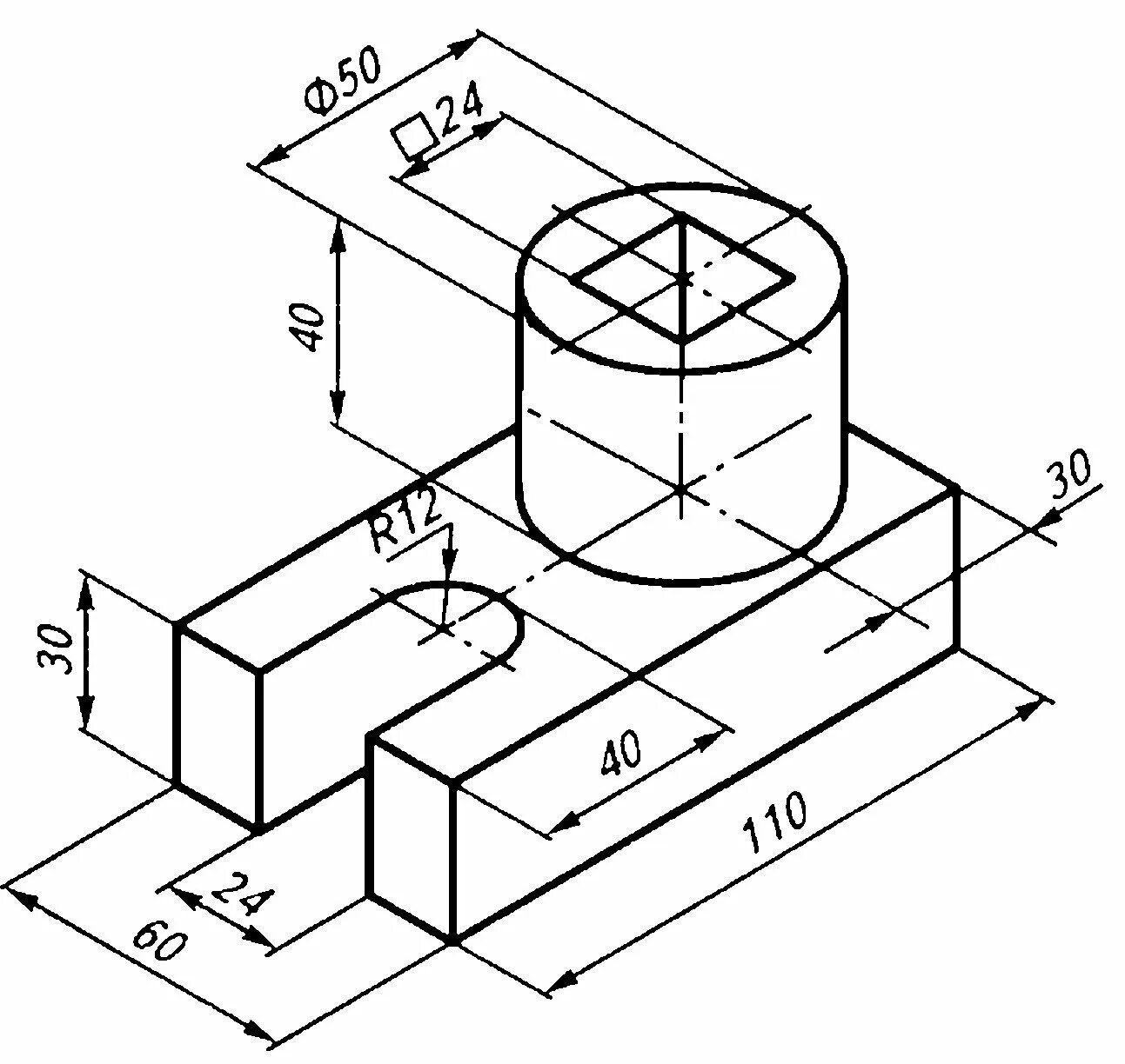
Аксонометрия задание