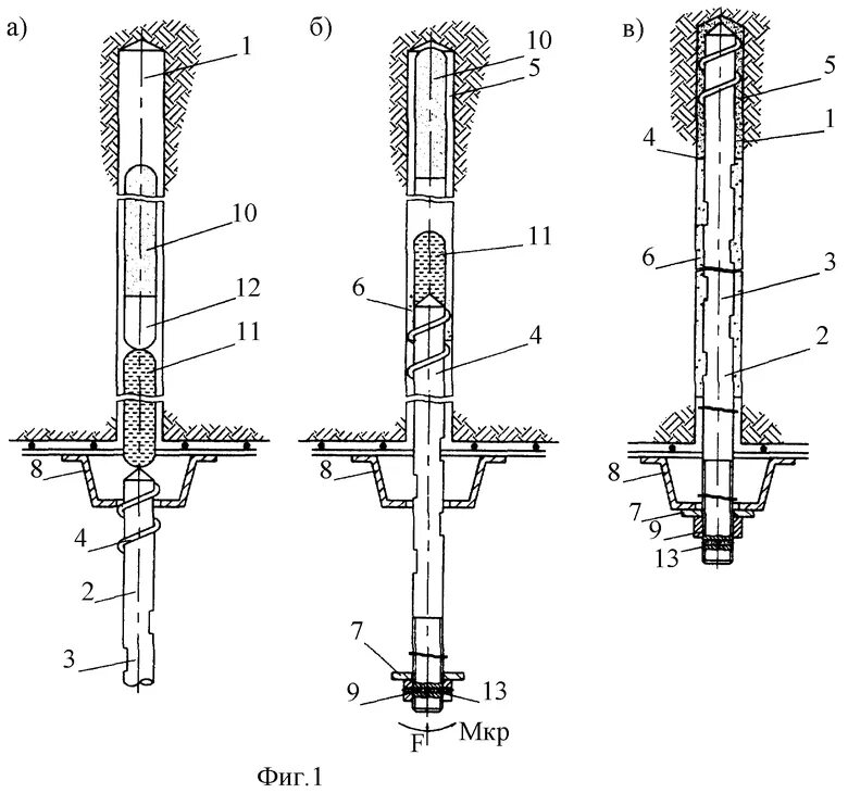
Анкер сза