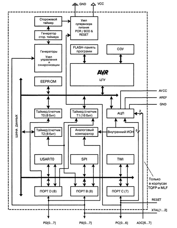
Архитектура микроконтроллера