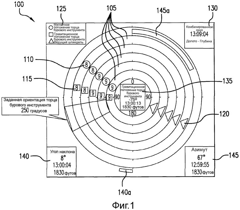
Азимут в бурении