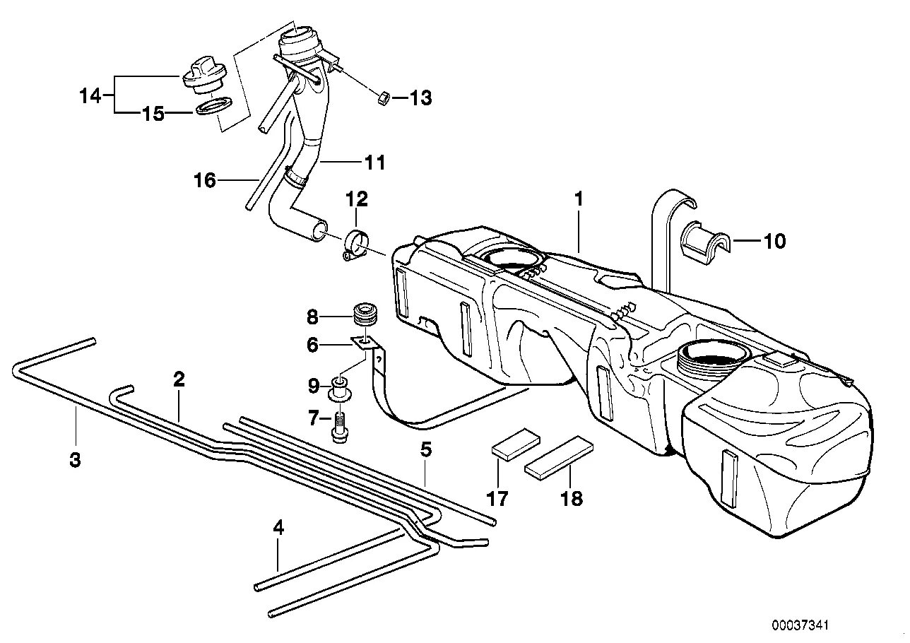
Бак бмв е36