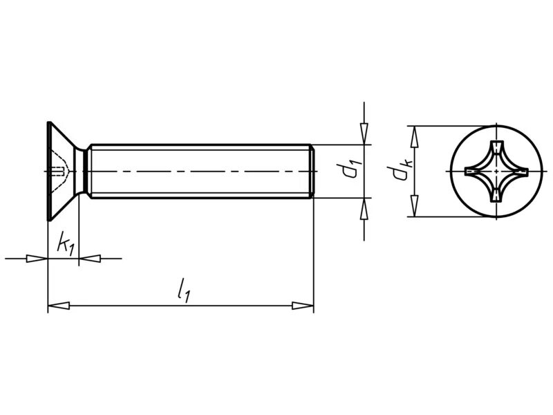
Болт м2