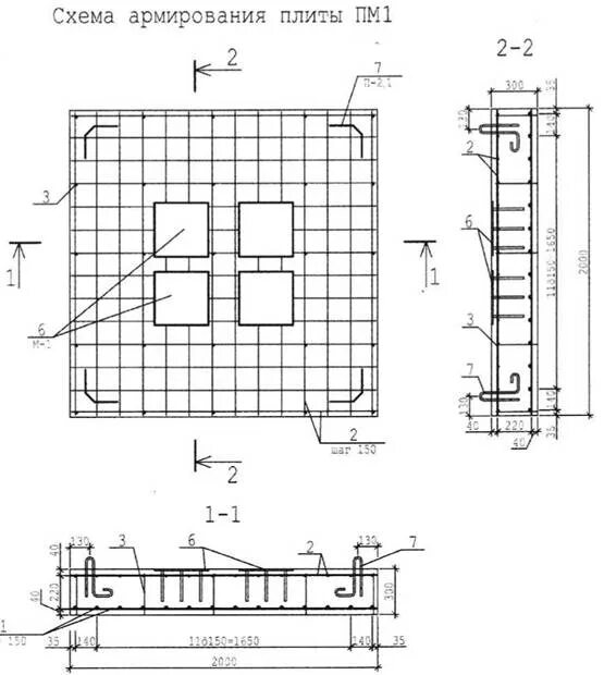
Чертеж армирования плиты