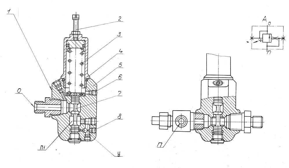
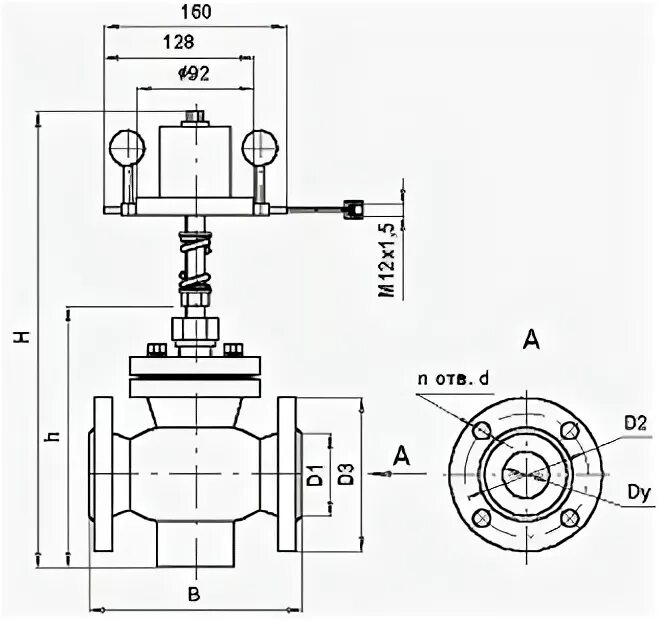
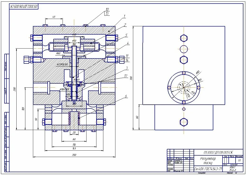
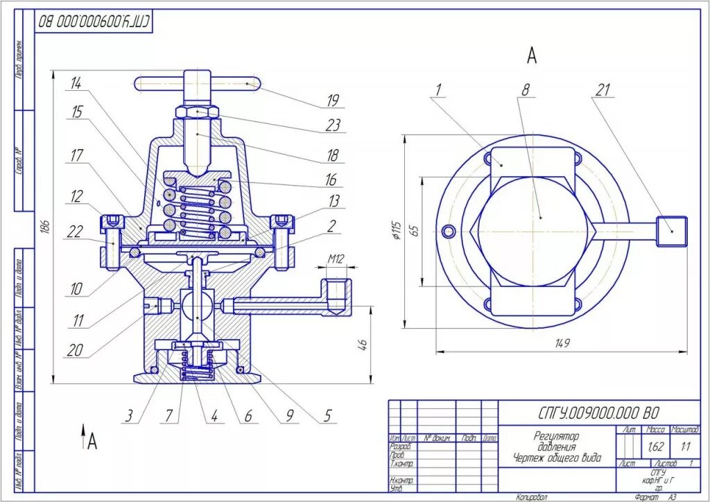
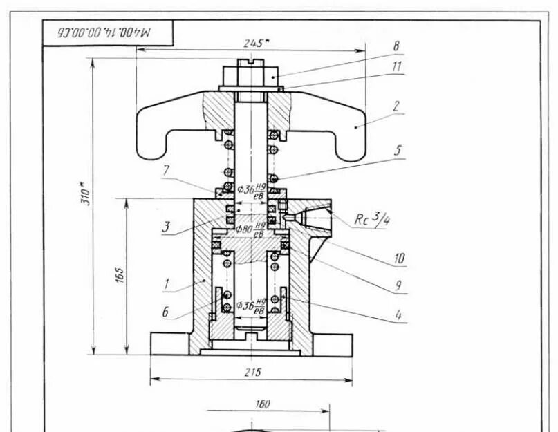
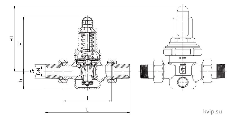
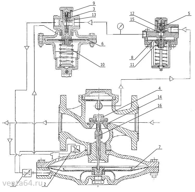
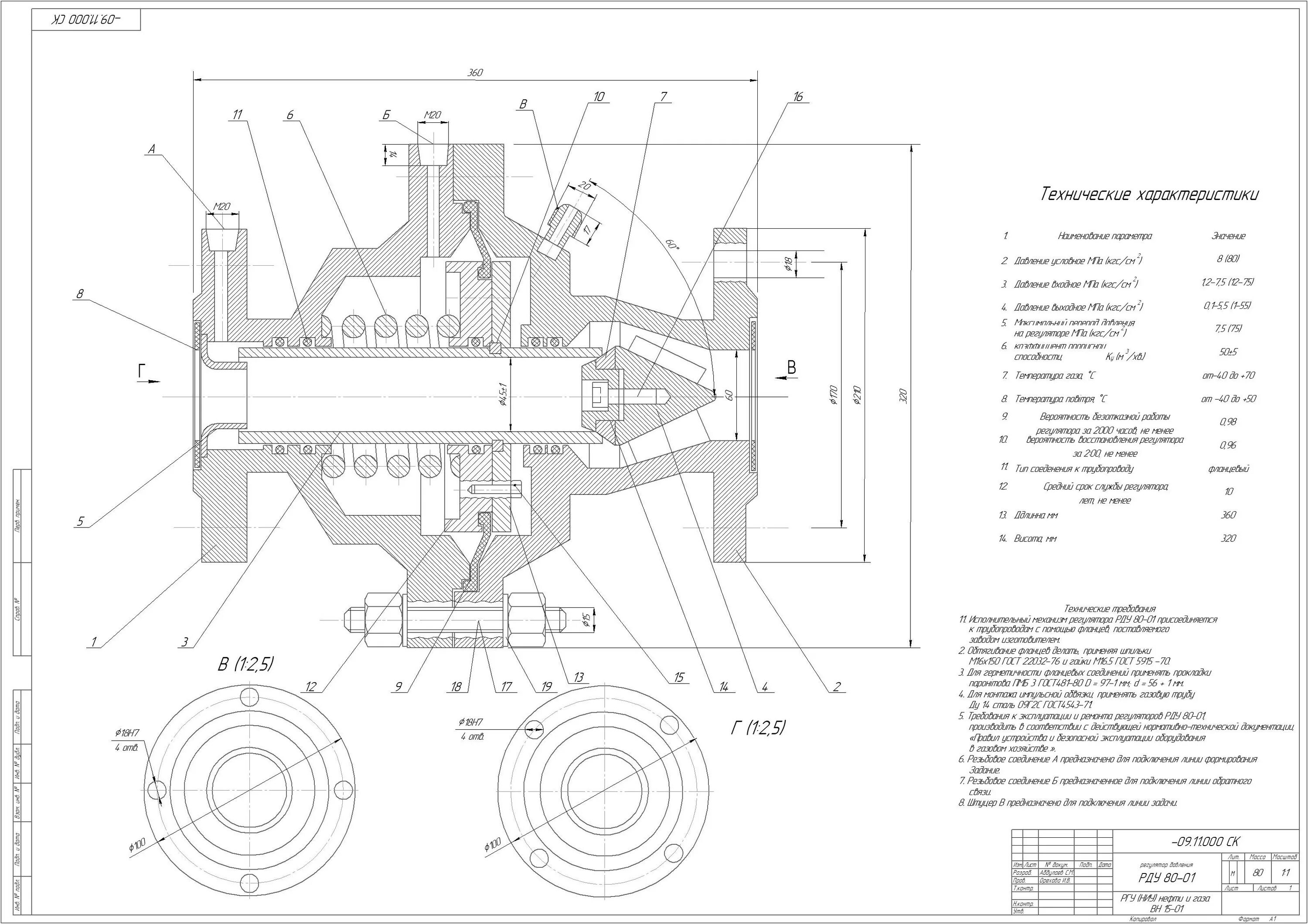
Чертеж регулятора давления