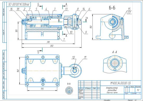
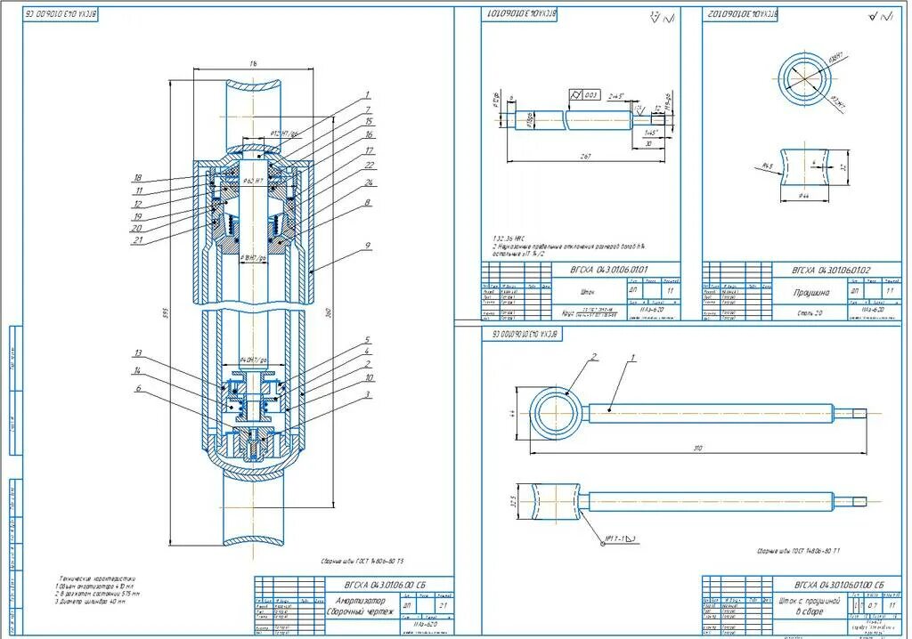
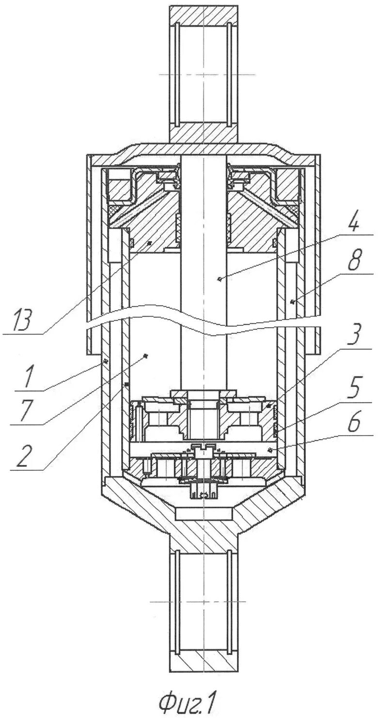
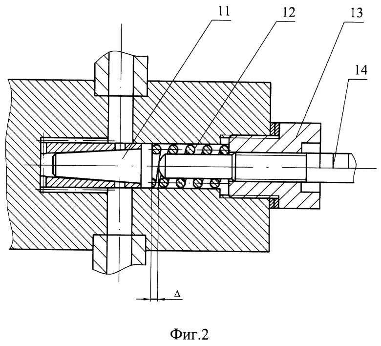
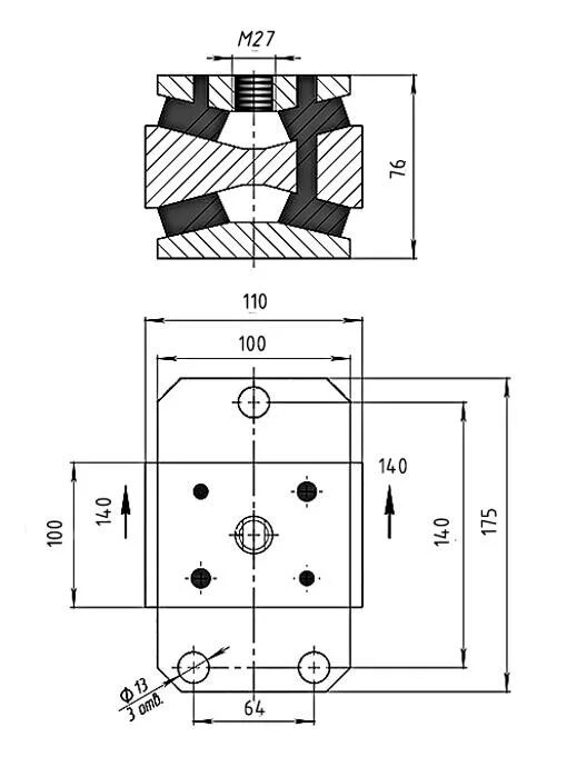
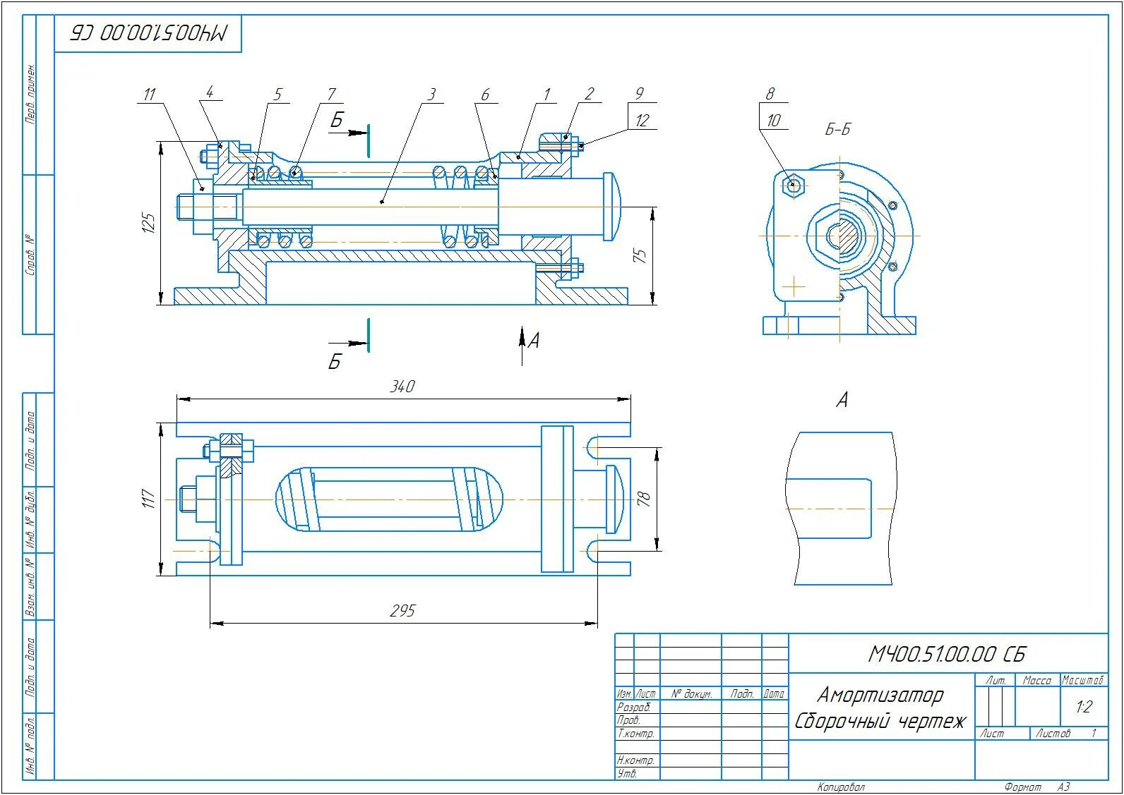
Демпфер чертеж