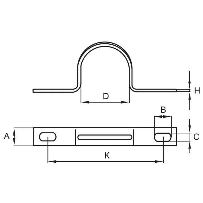
Держатель двусторонний дкс