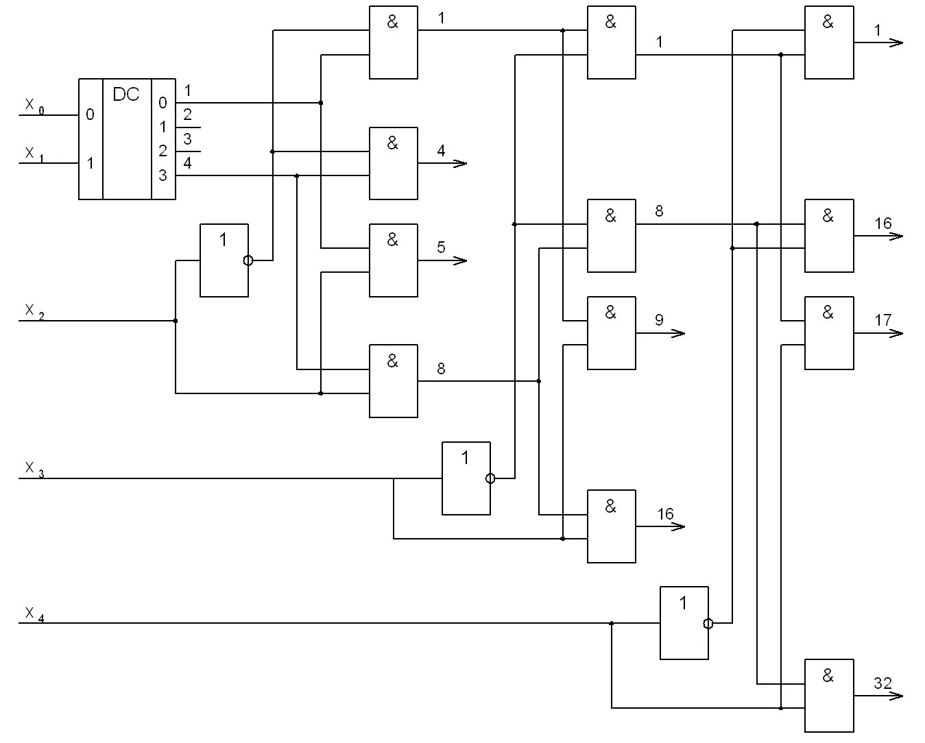
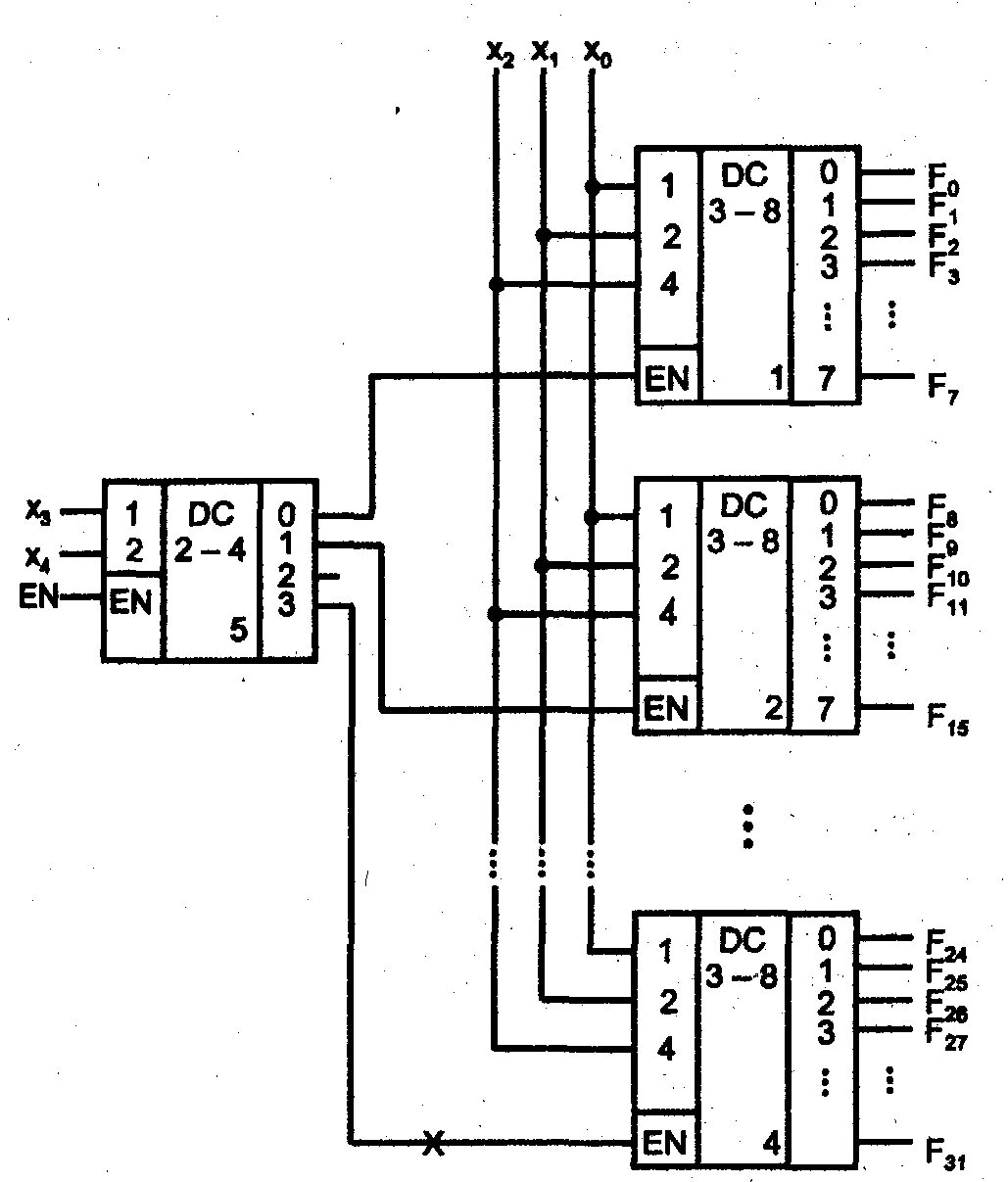
Дешифратор схема