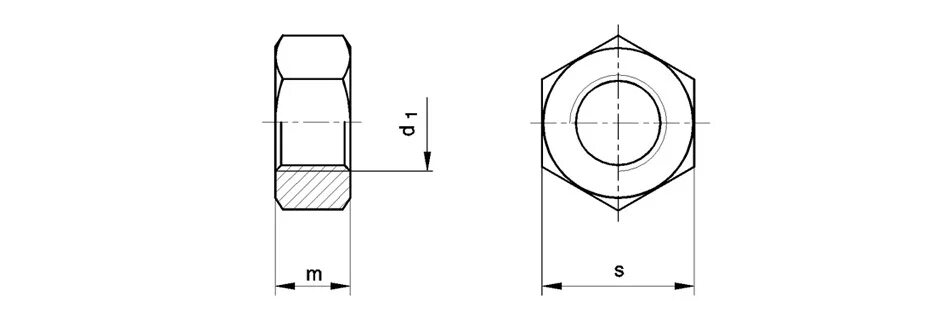
Din 934 iso 4032