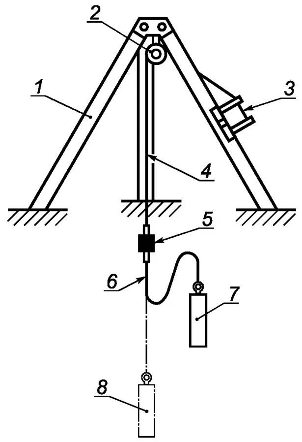
Динамический метод испытания