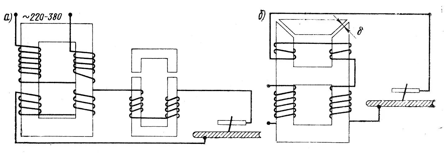
Дуговая сварка сварочный трансформатор