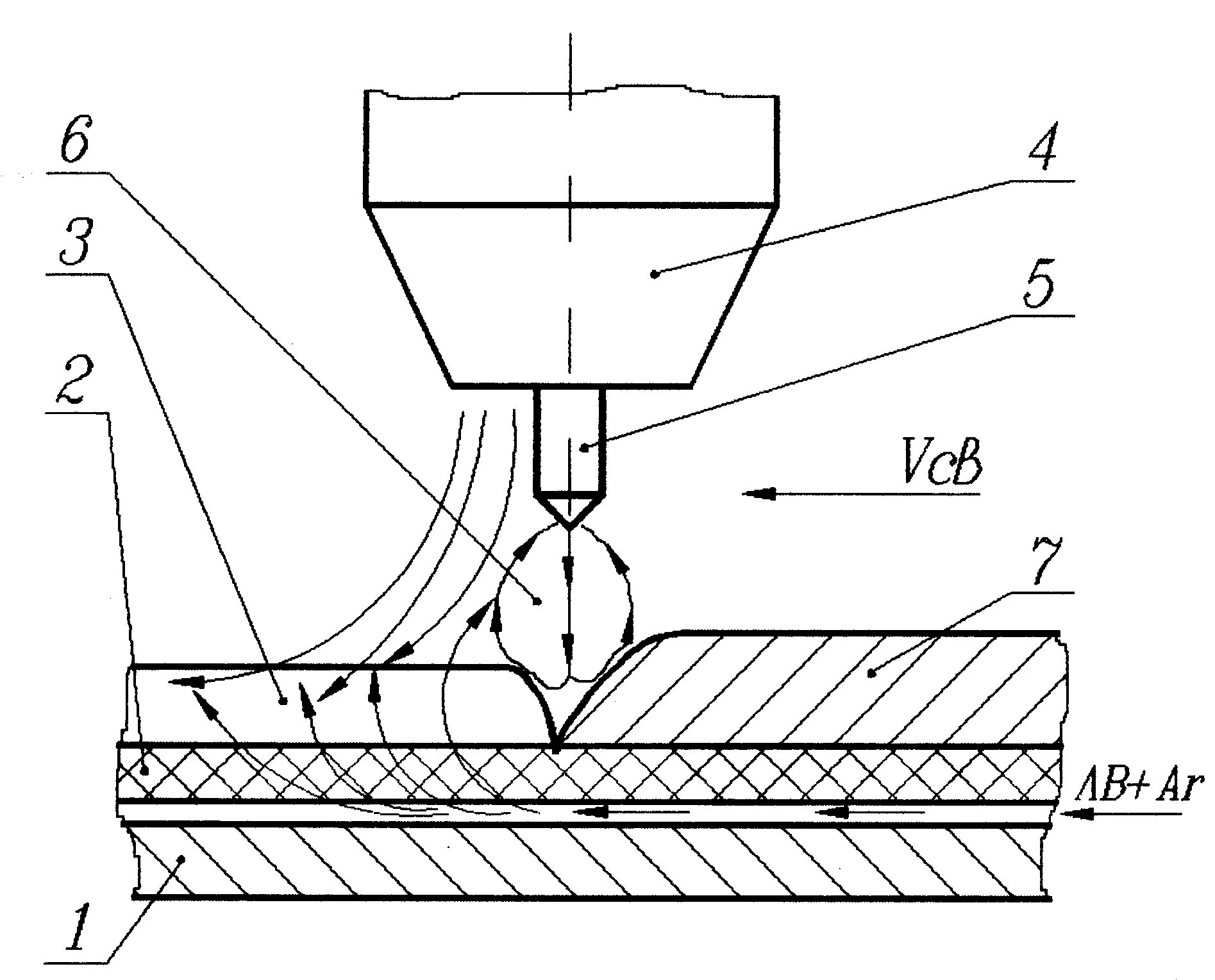
Электродуговая сварка в среде защитных газов