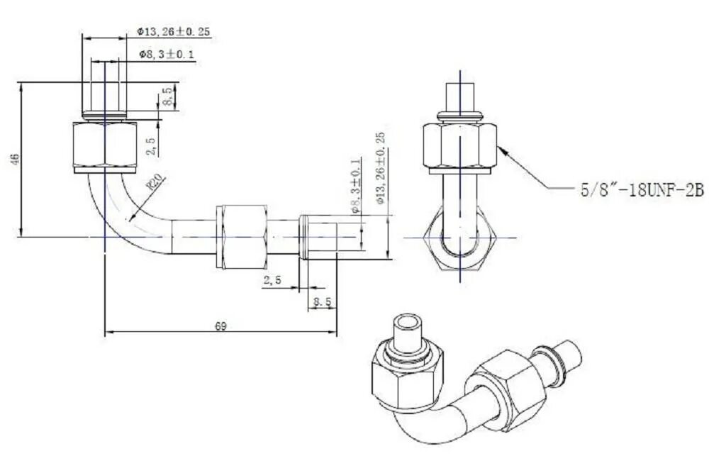
Фитинг диаметр 5