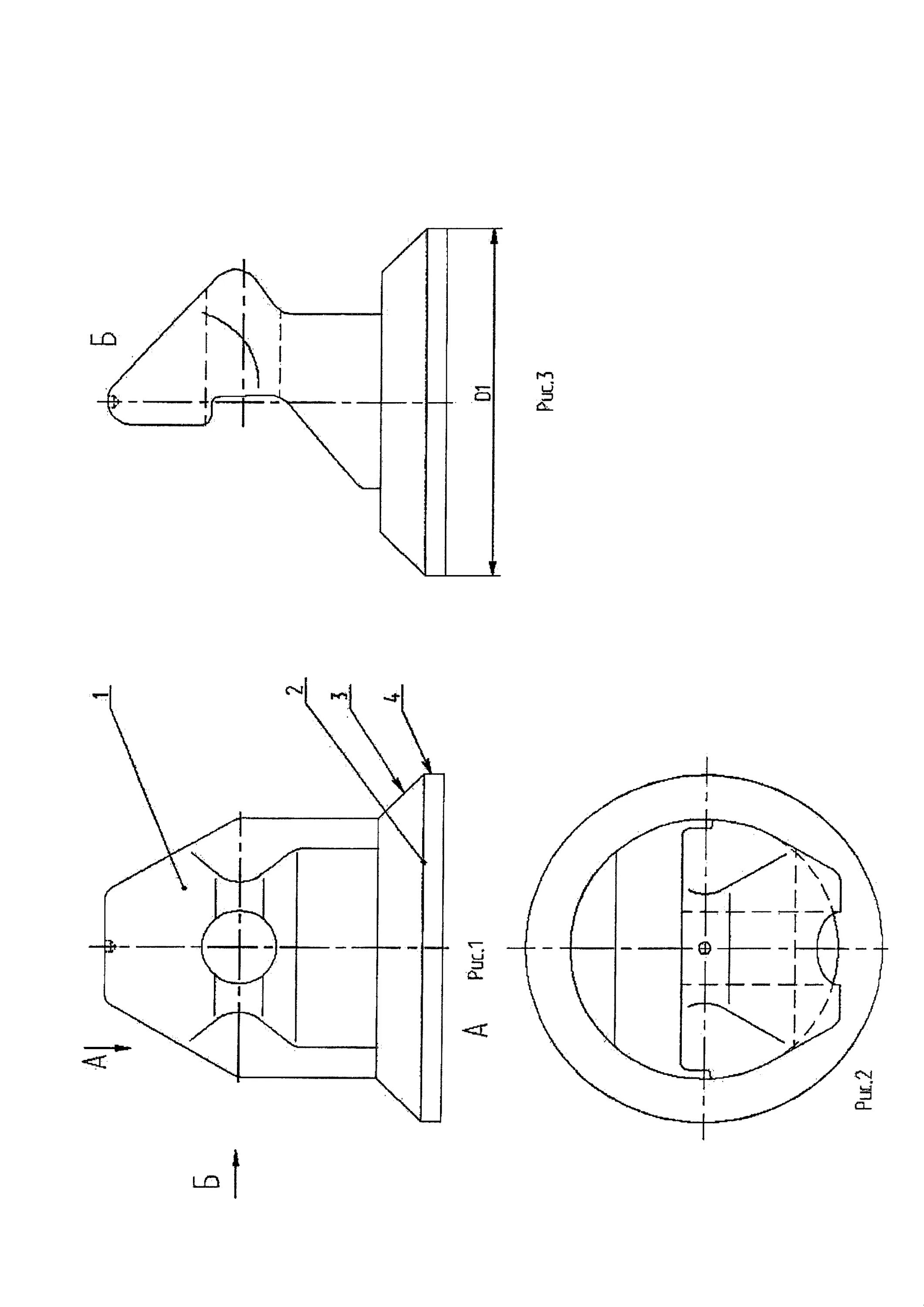
Фитинг платформы