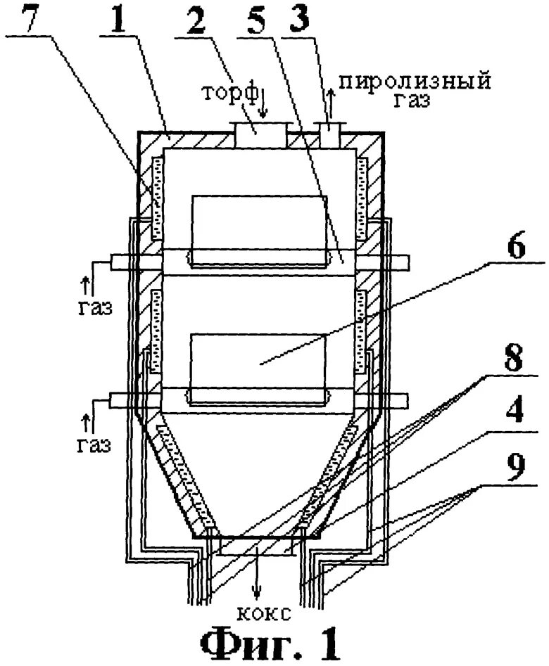
Газовый пиролиз