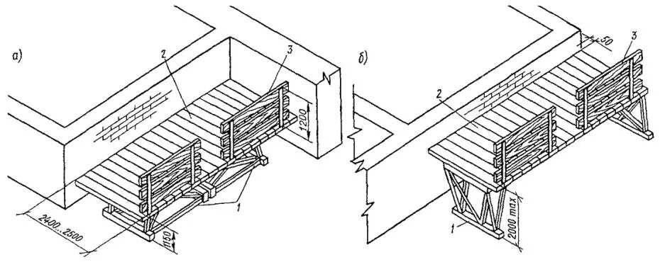
Инвентарные настилы