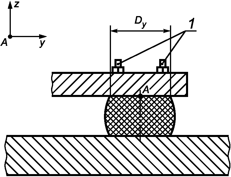
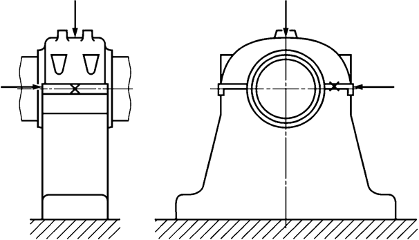
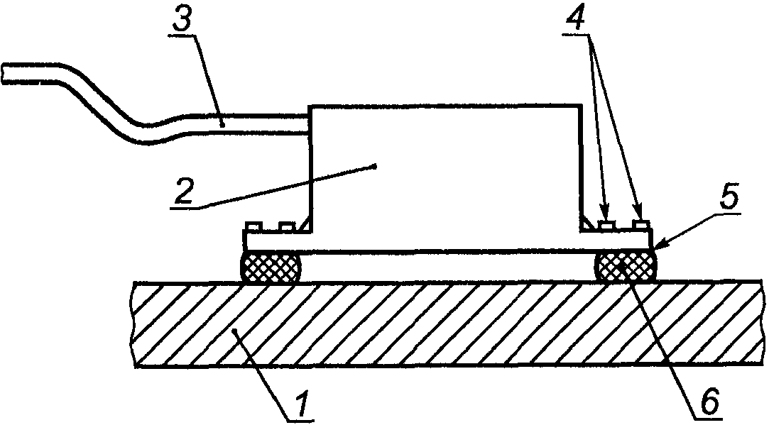
Как измерить вибрацию