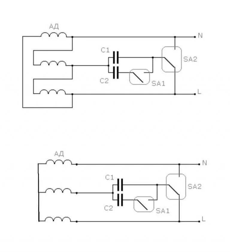
Как подключить электродвигатель на 220