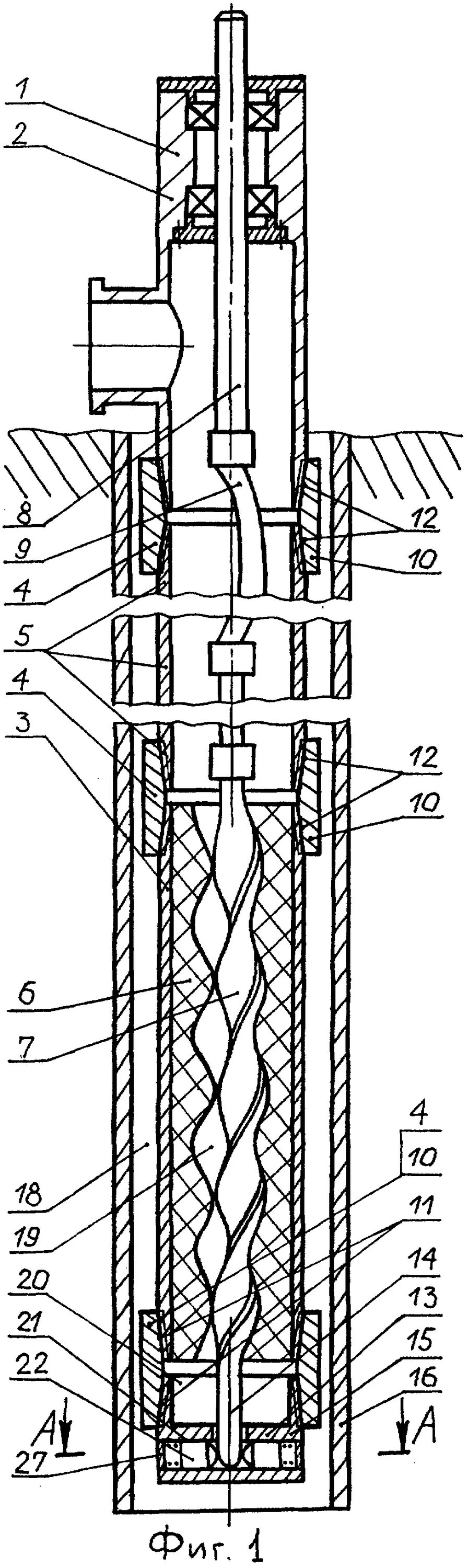
Как работает скважинный насос