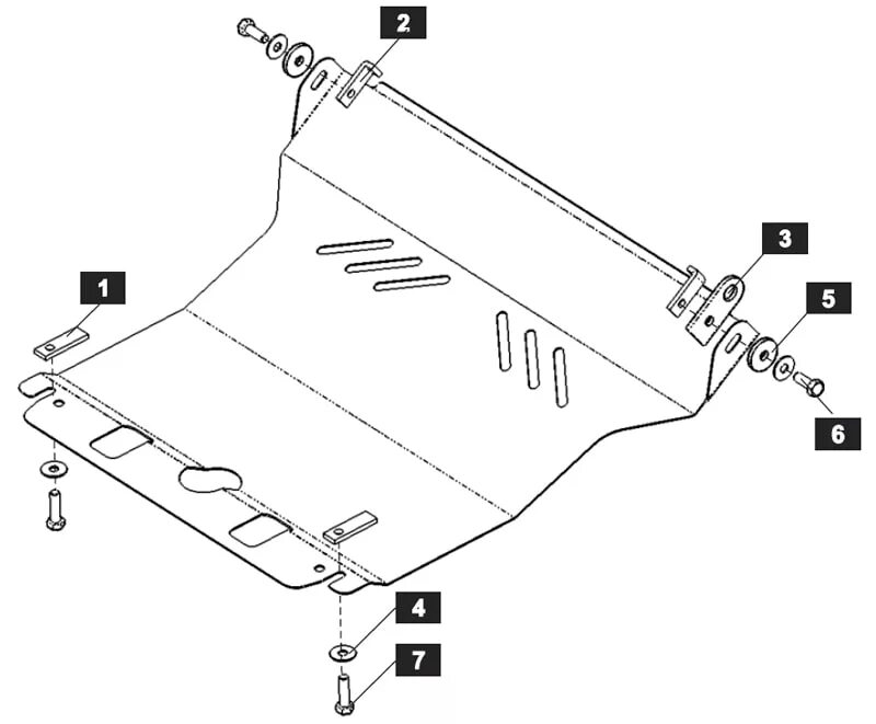
Как сделать защиту картера