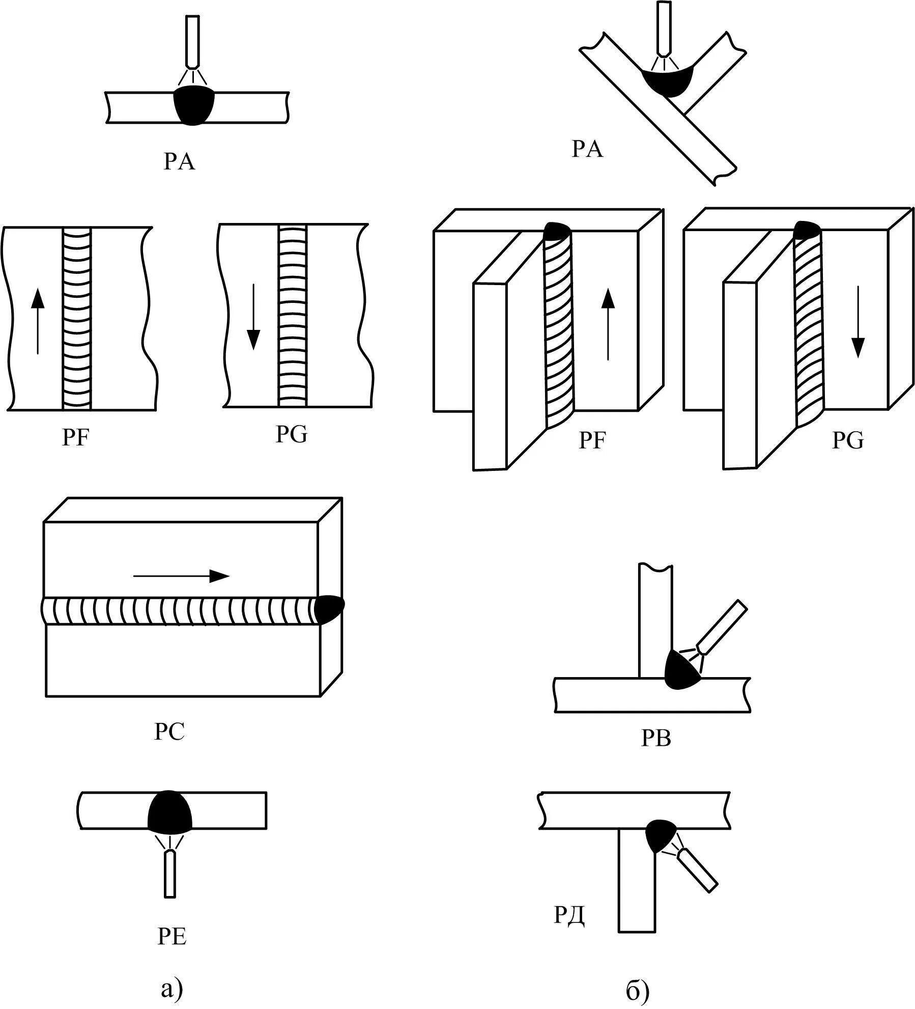
Как варить потолочный шов