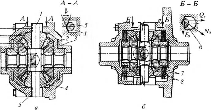
Какие функции выполняет межколесный дифференциал