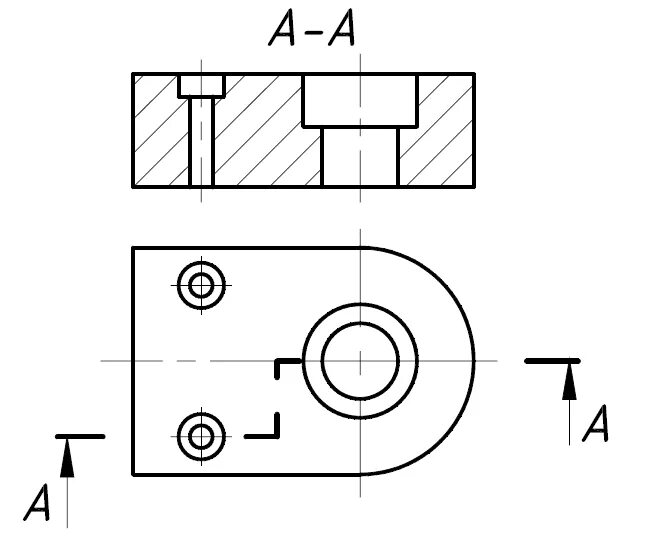
Какие разрезы изображены на рисунке