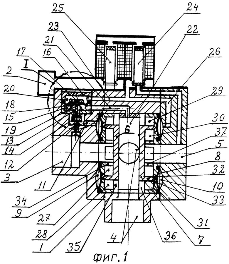
Клапан модуляции