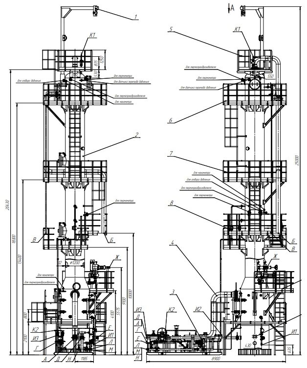
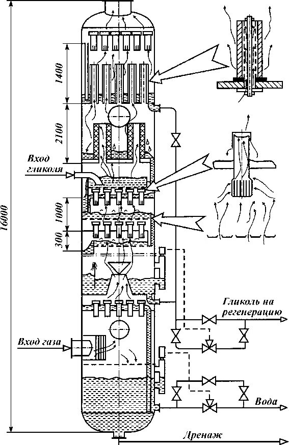
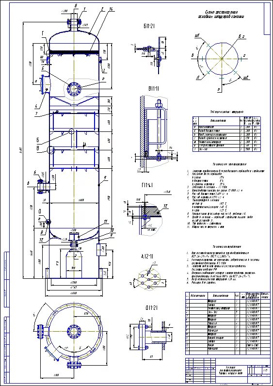
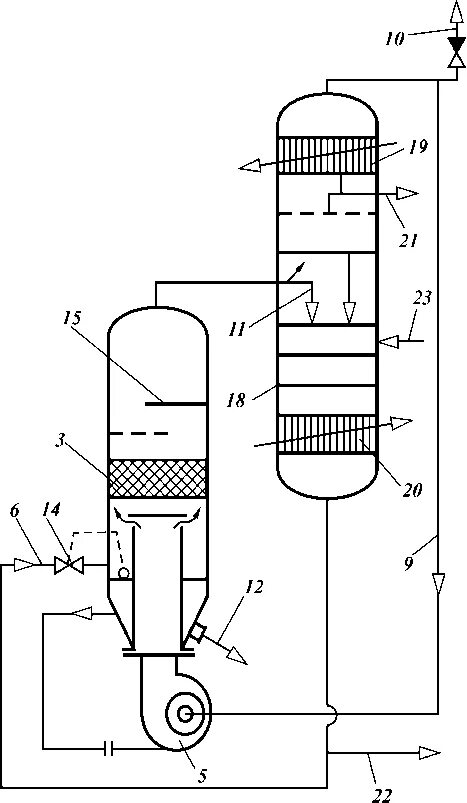
Колонны регенерации