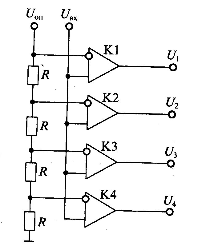
Компаратор 2