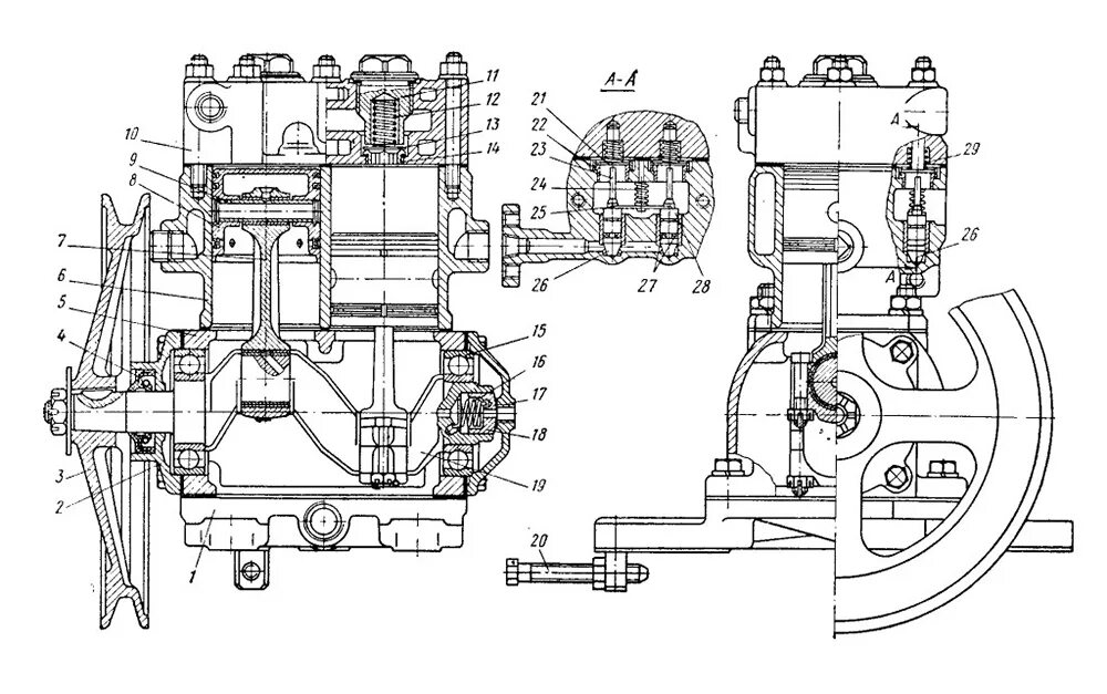
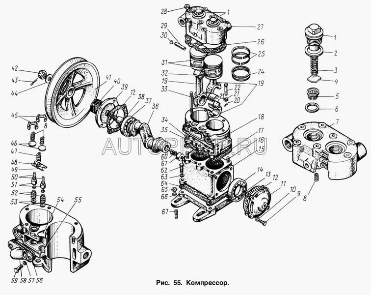
Компрессор зил поршневая