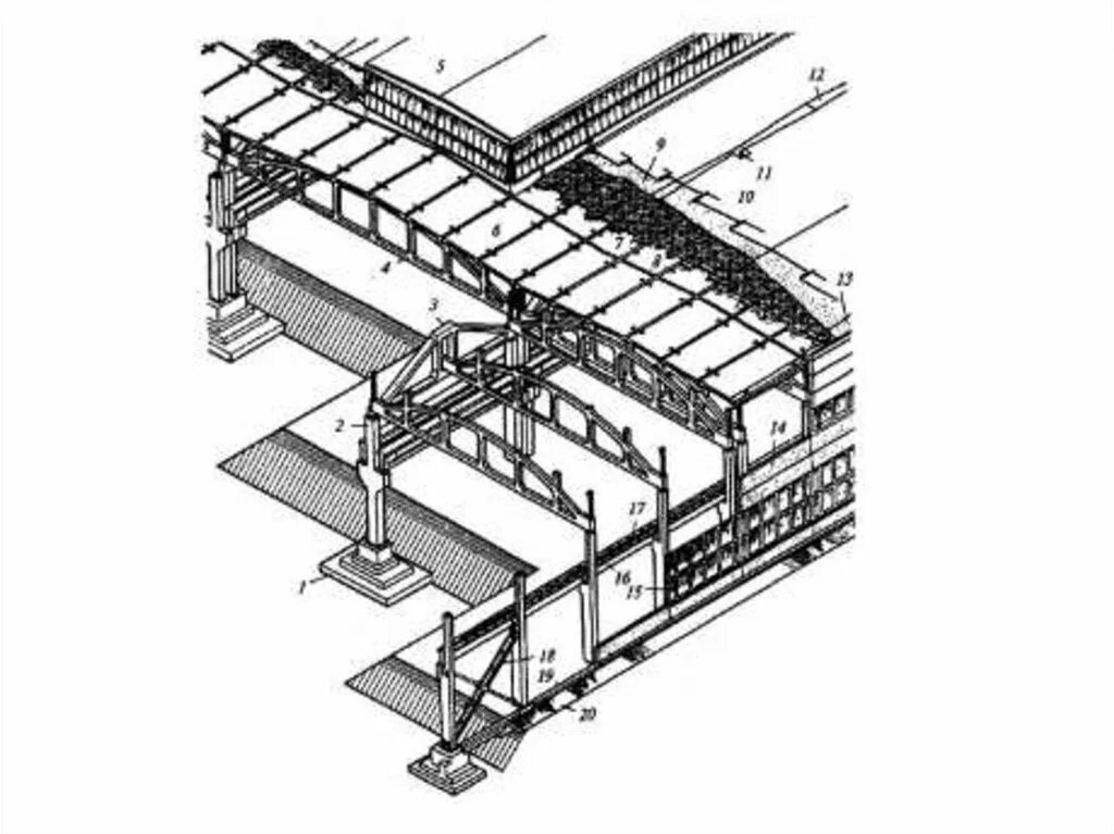
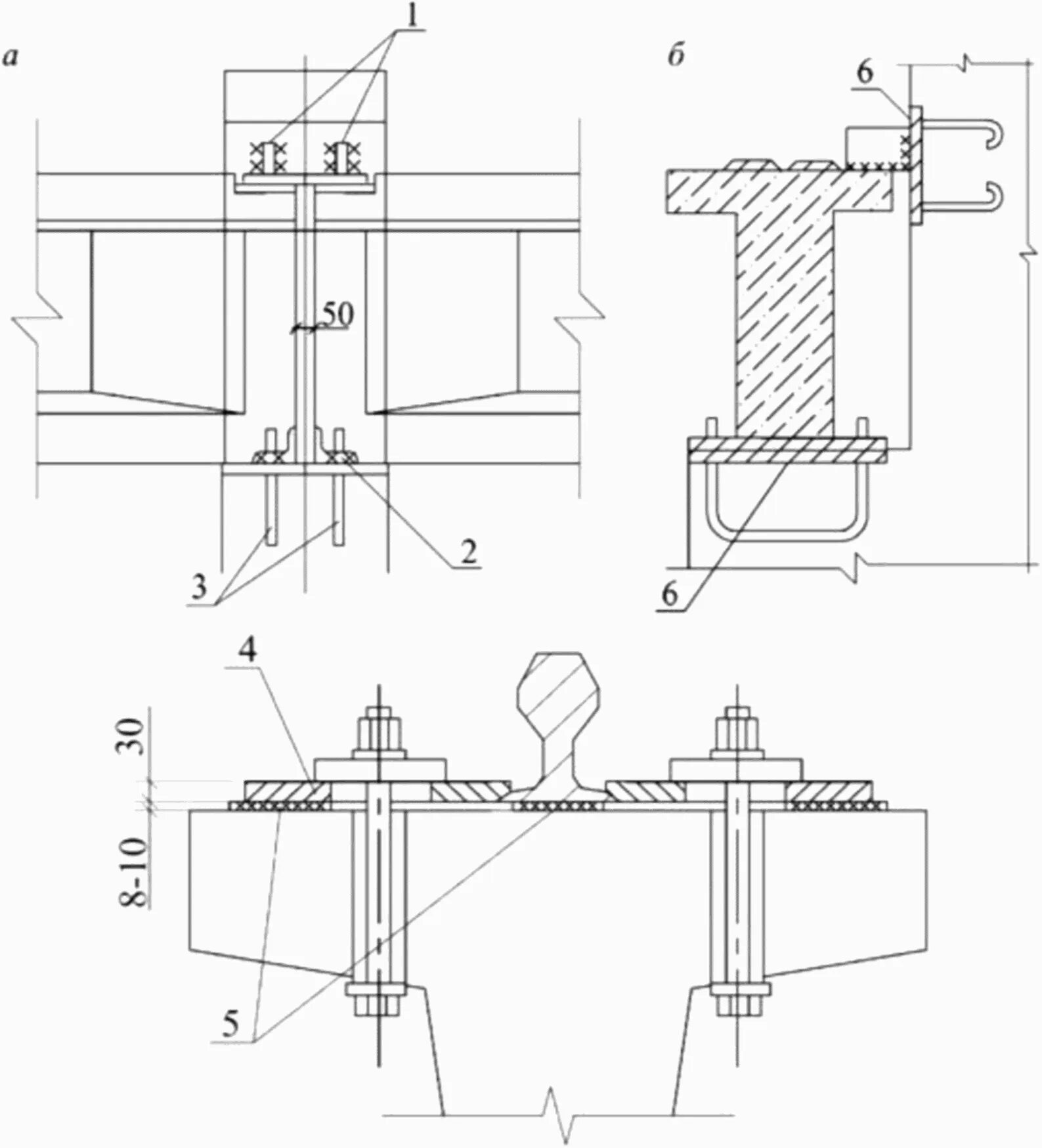
Конструкции подкрановых балок