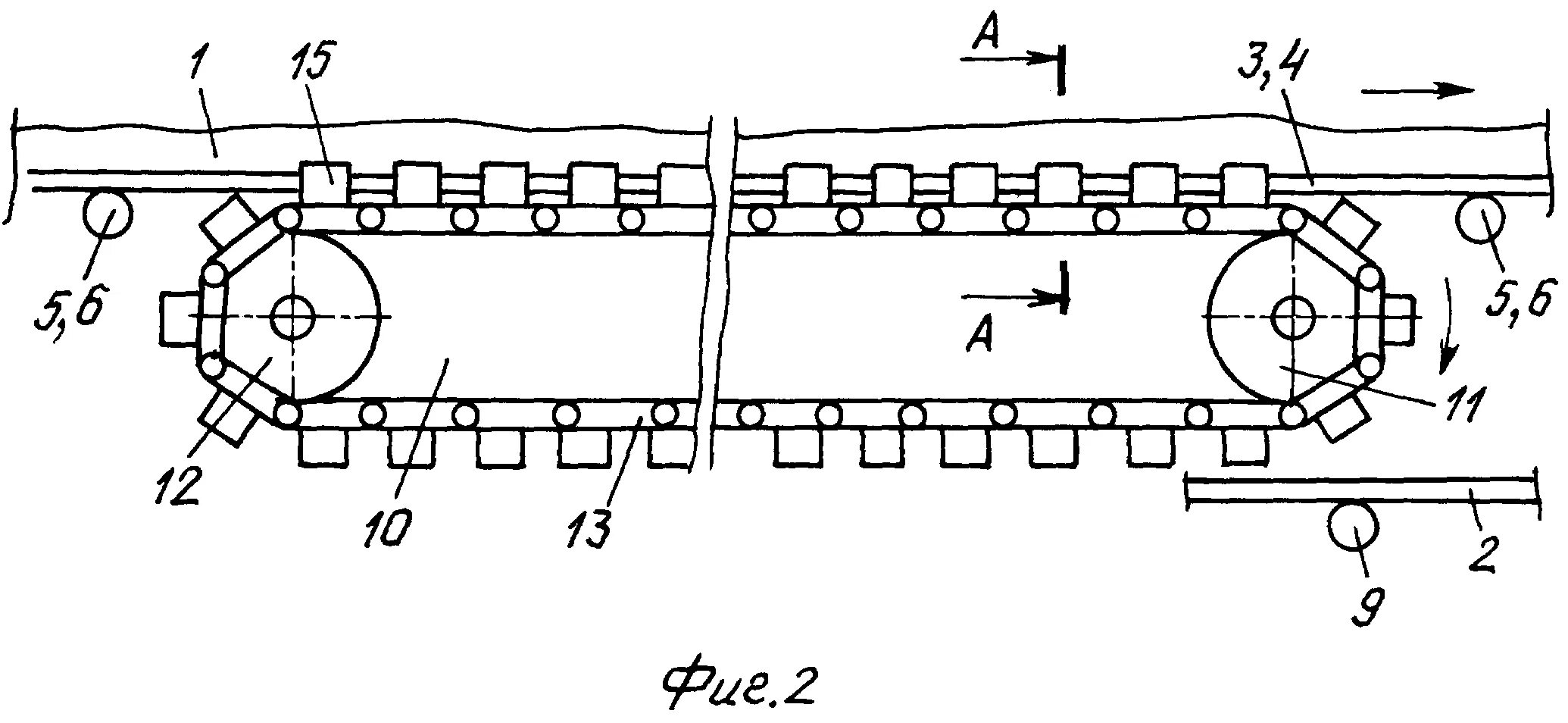
Конструкция ленточного конвейера