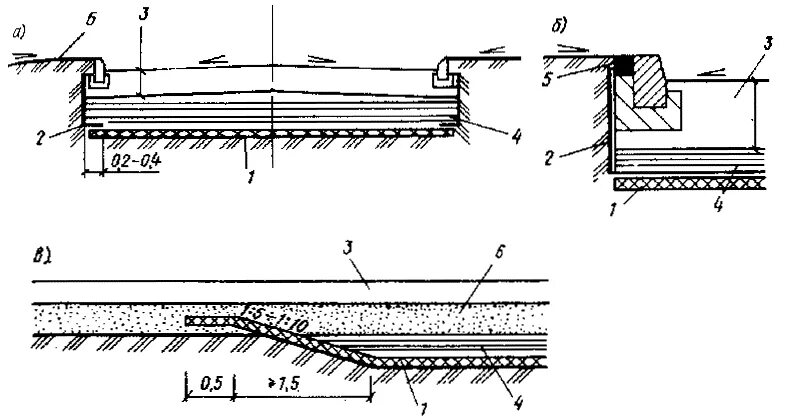
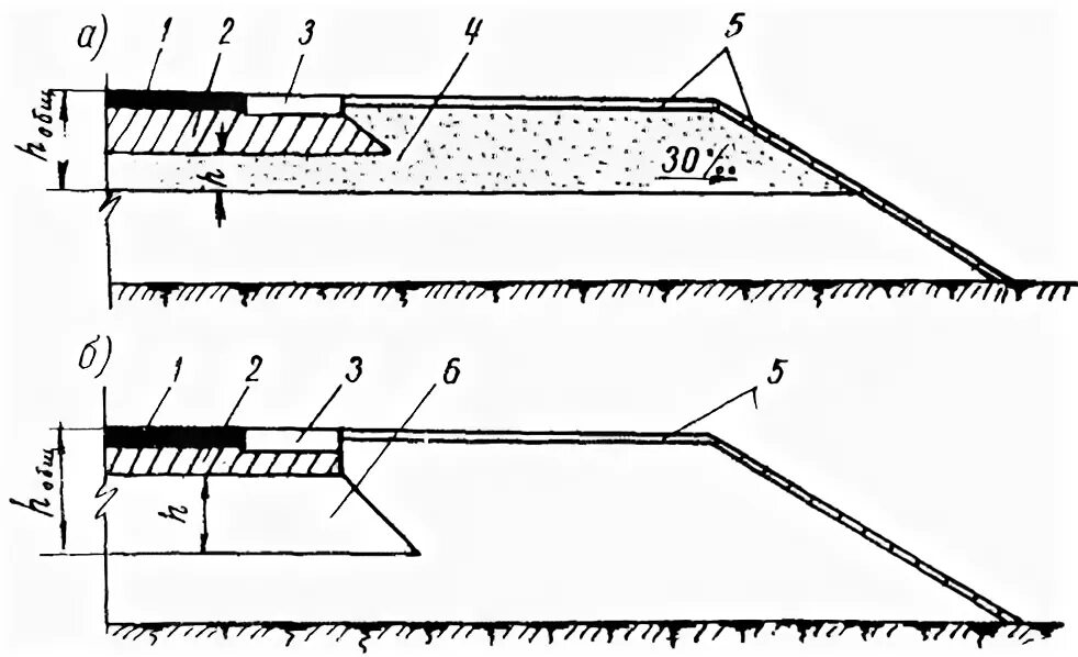
Корыта дорожной одежды