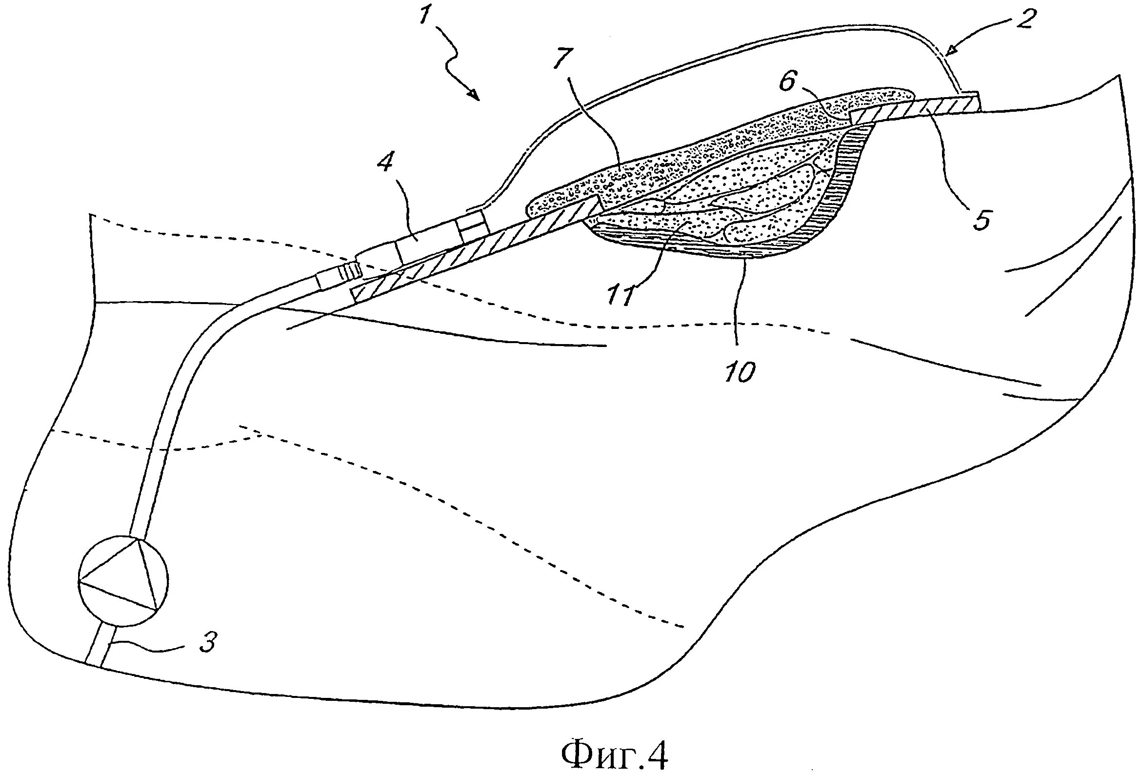
Лечение аспирации