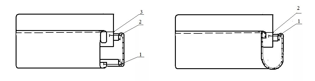
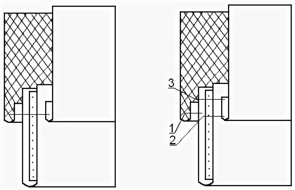
Манжеты обработка низа