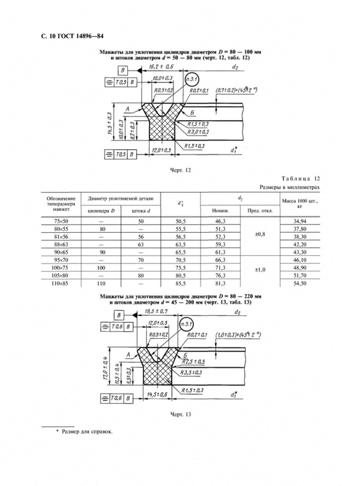
Манжеты стандарты