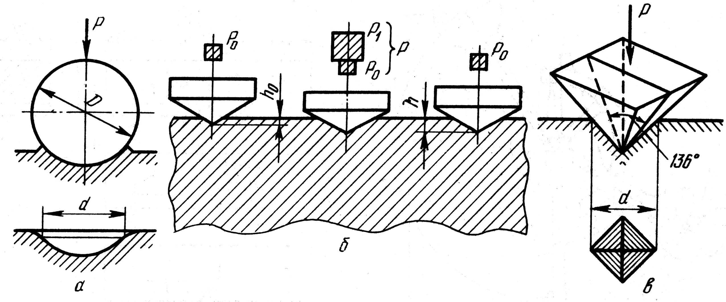
Метод испытания метода роквелла