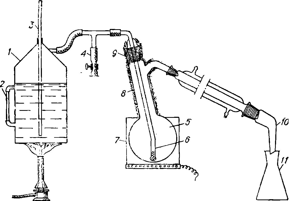
Метод перегонки