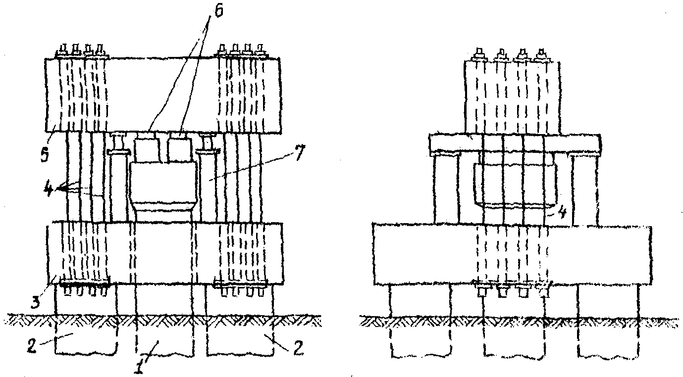
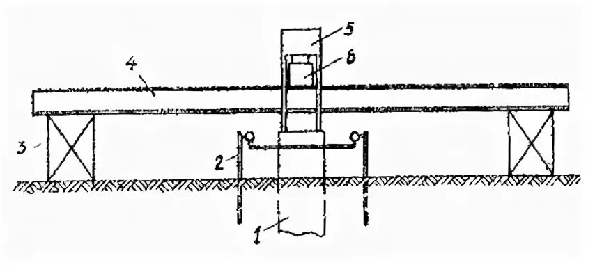
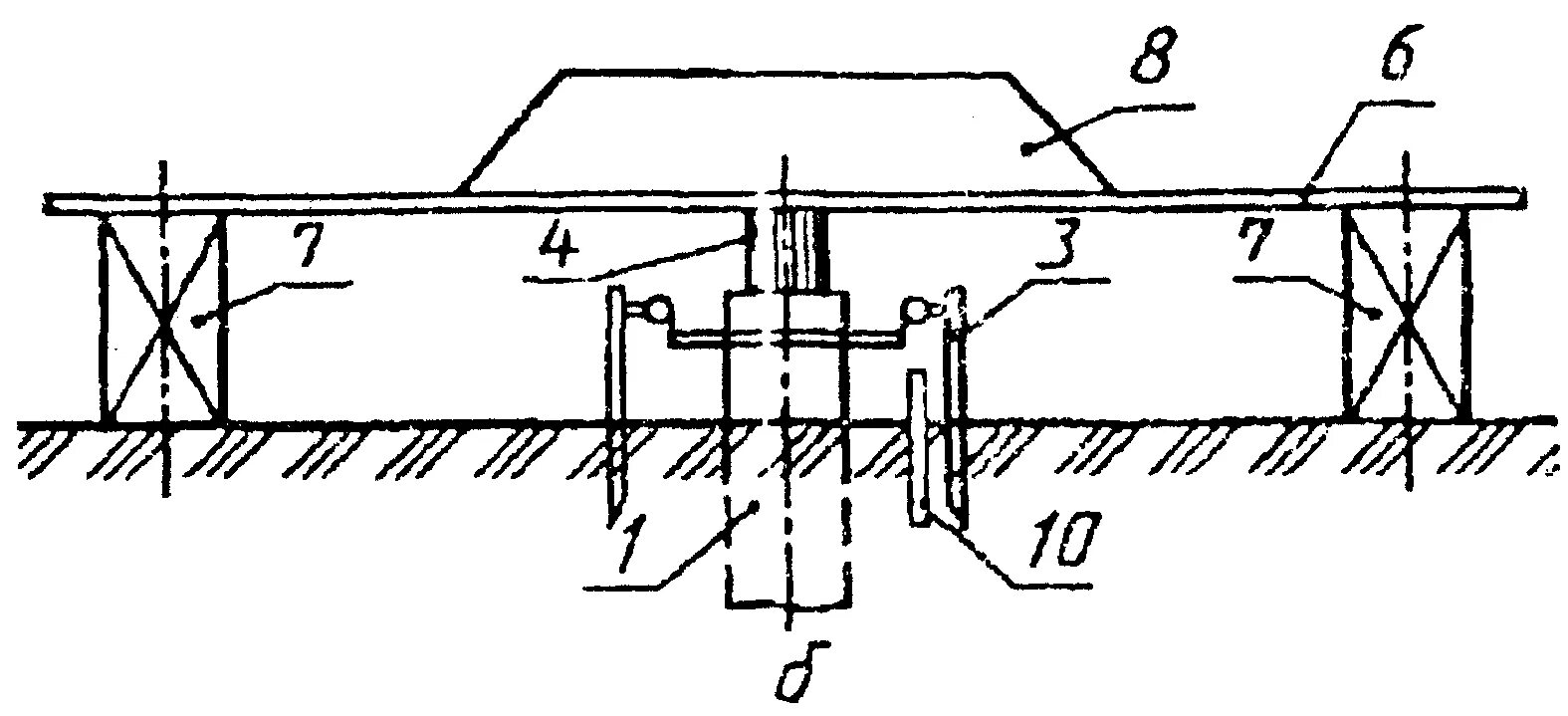
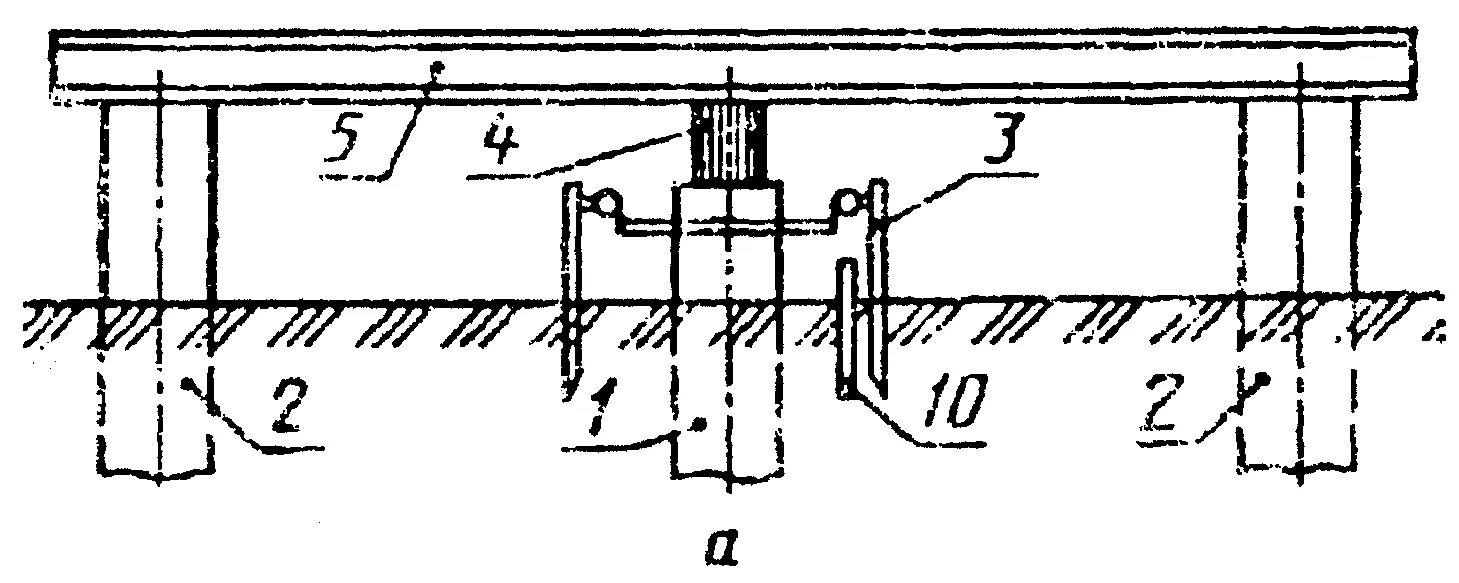
Метод полевых испытаний сваями