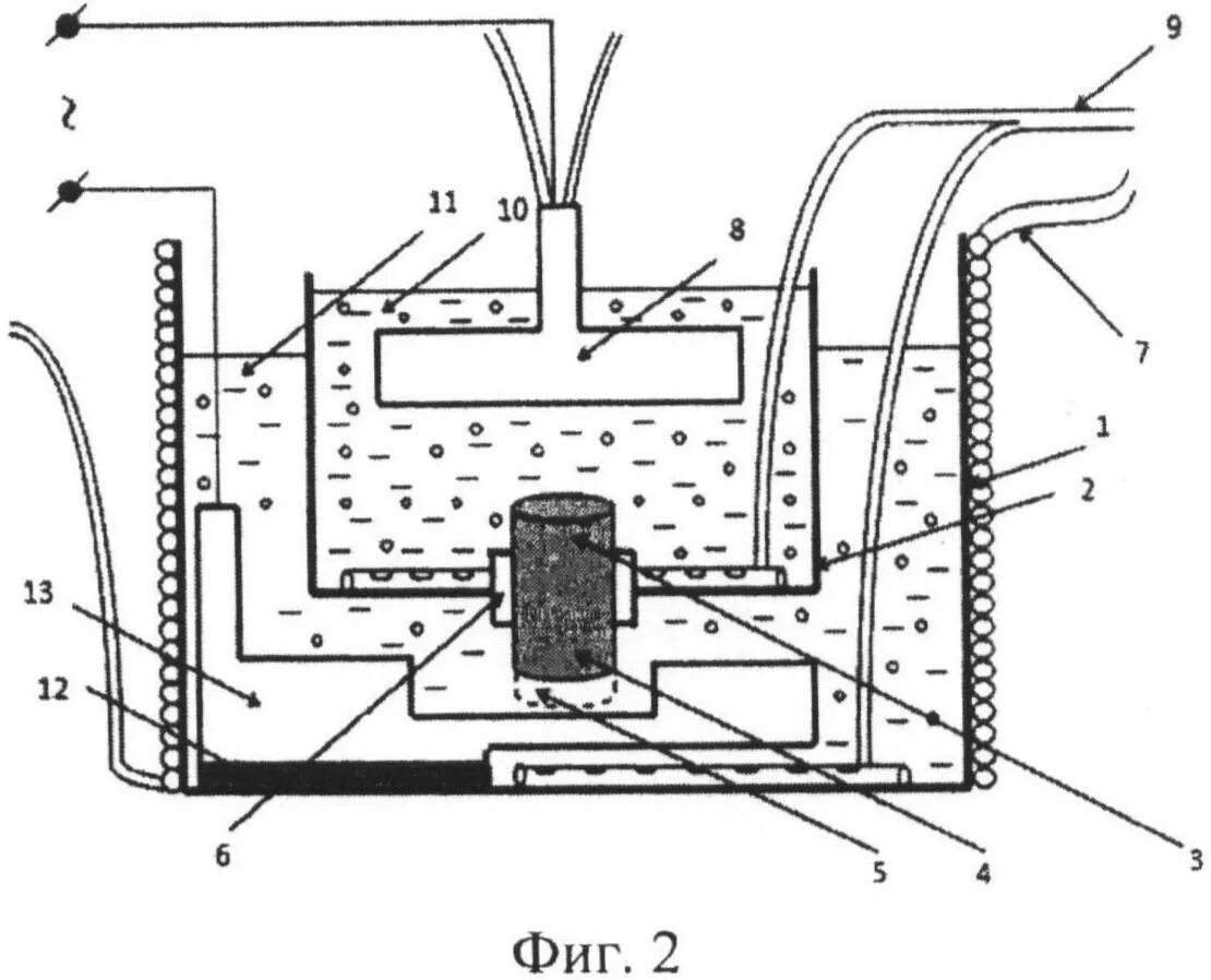
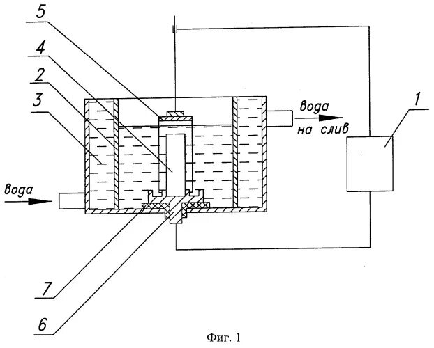
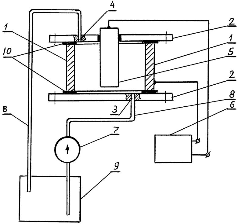
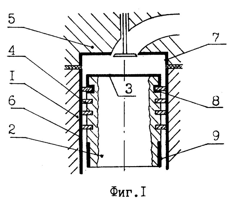
Микродуговое оксидирование