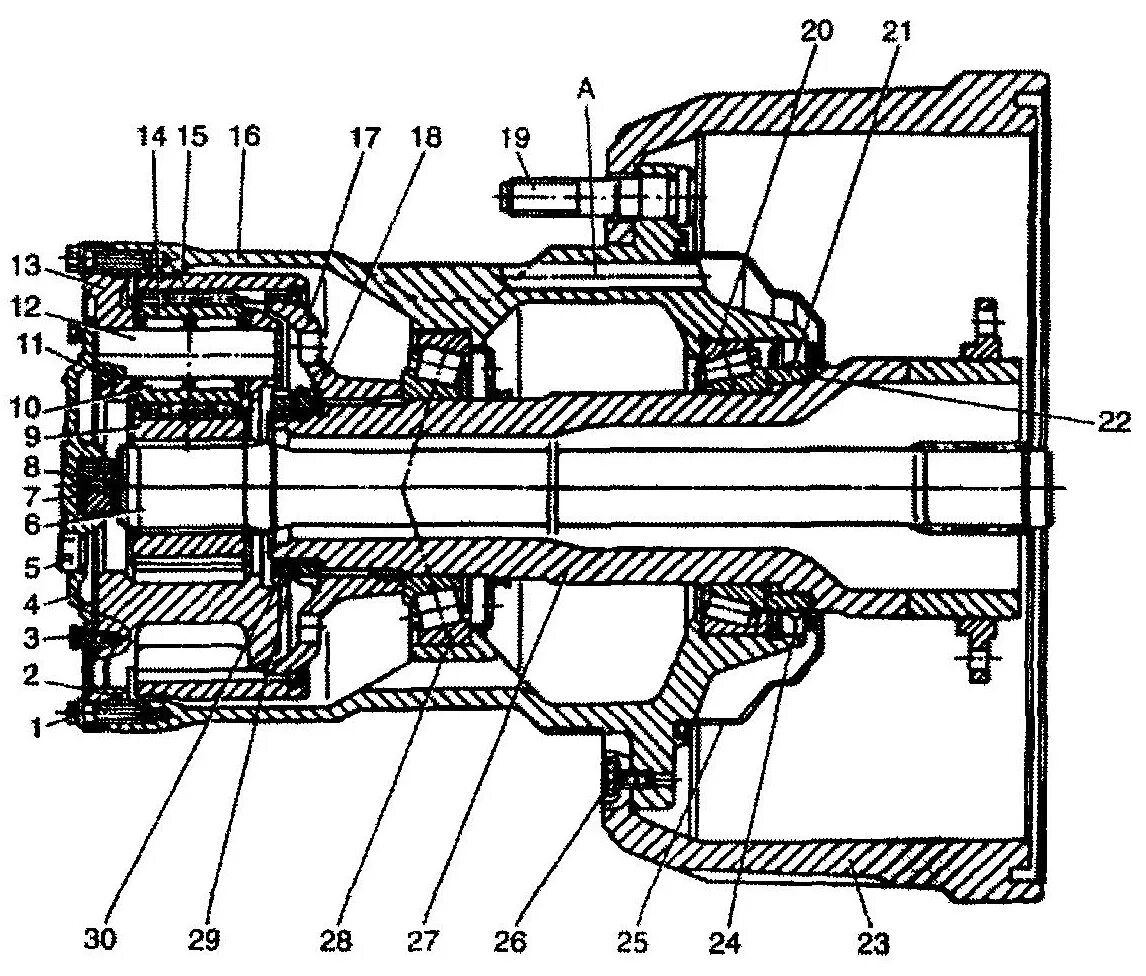
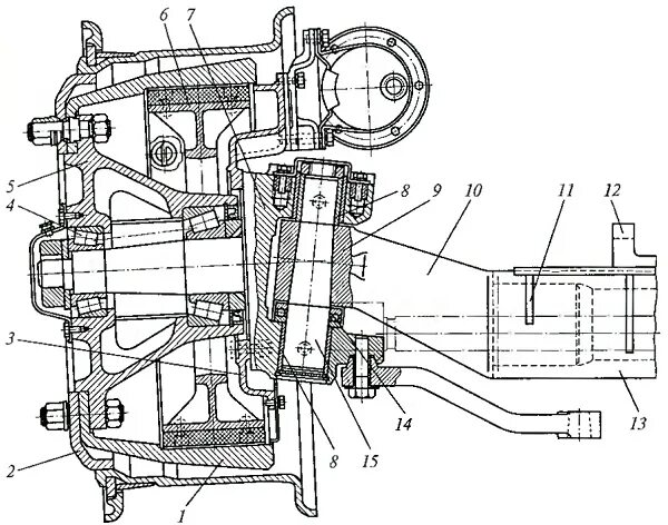
Мосты троллейбуса