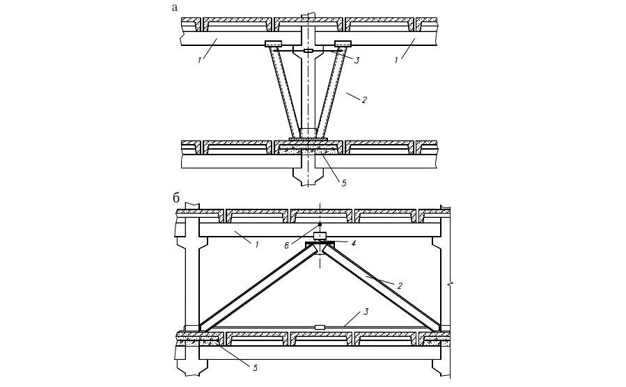
Нагружающие конструкцию