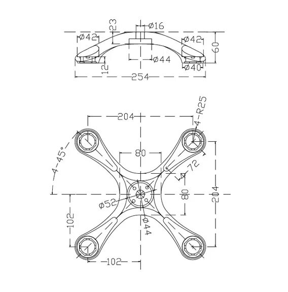
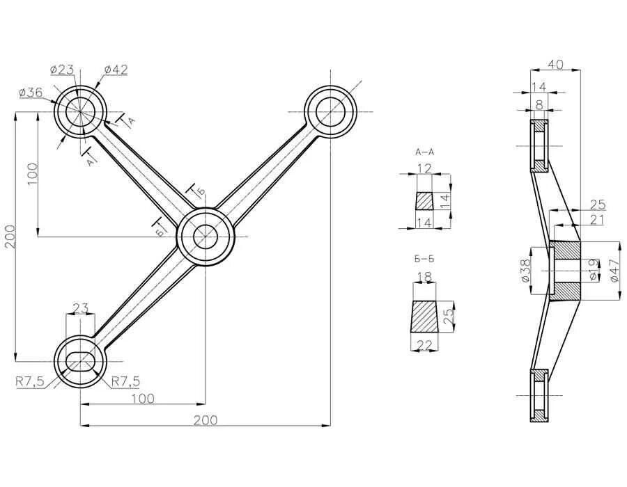
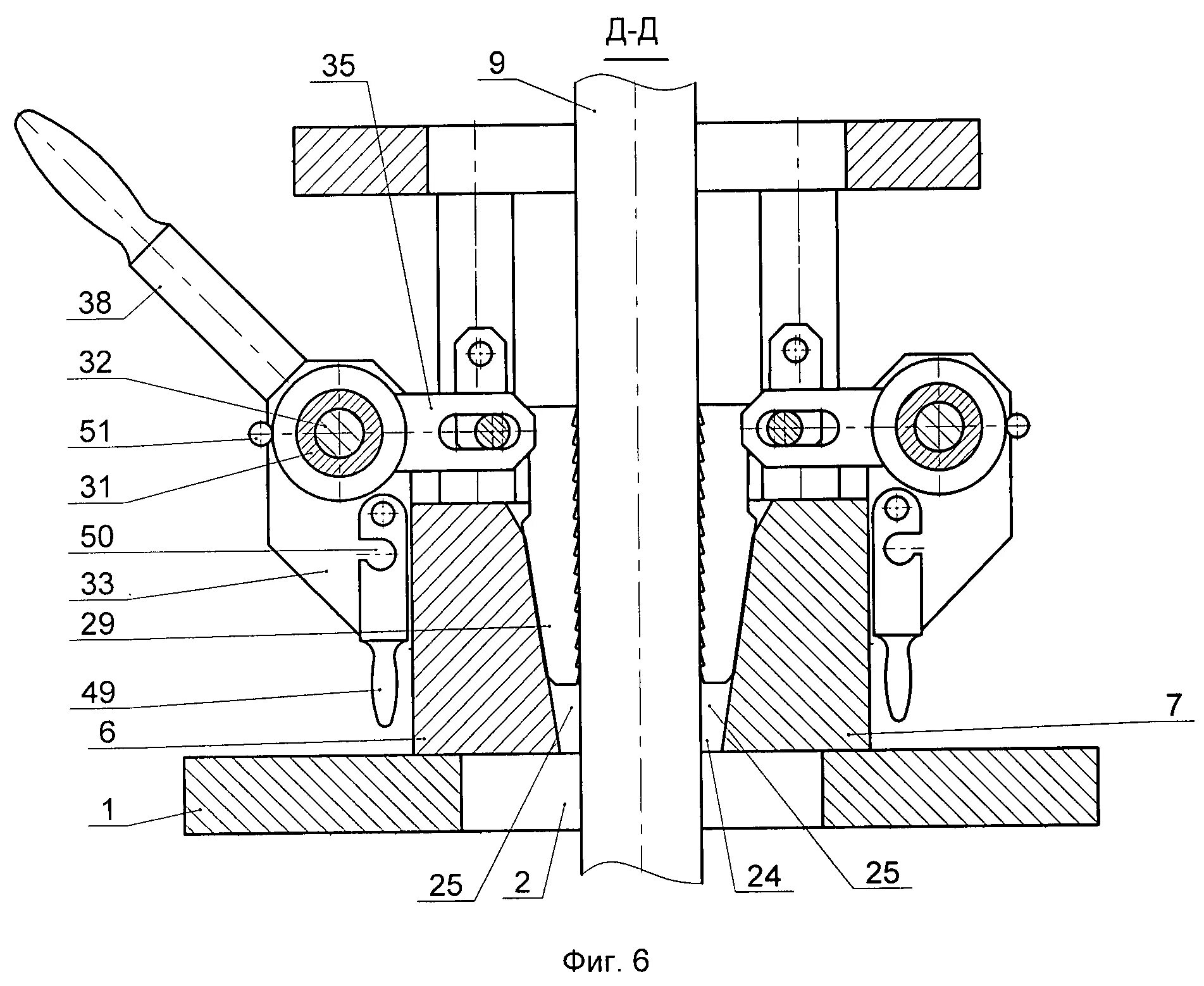
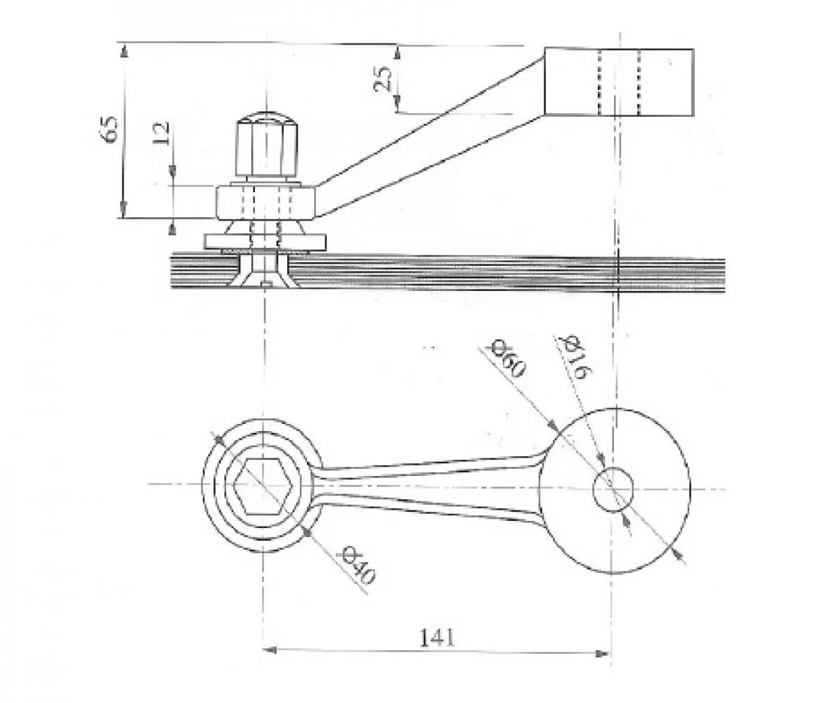
Настройка спайдера