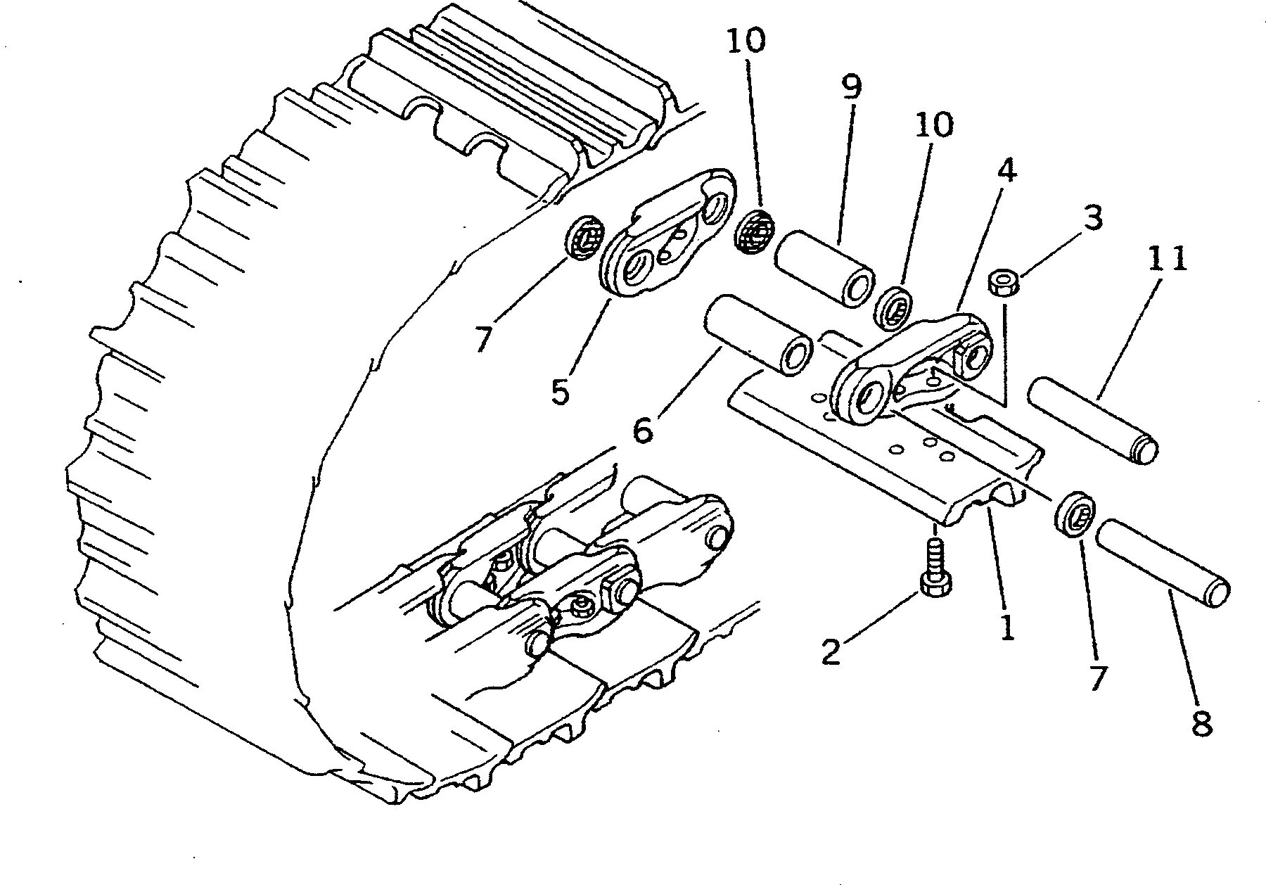
Натяжители komatsu