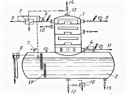
Назначение деаэратора