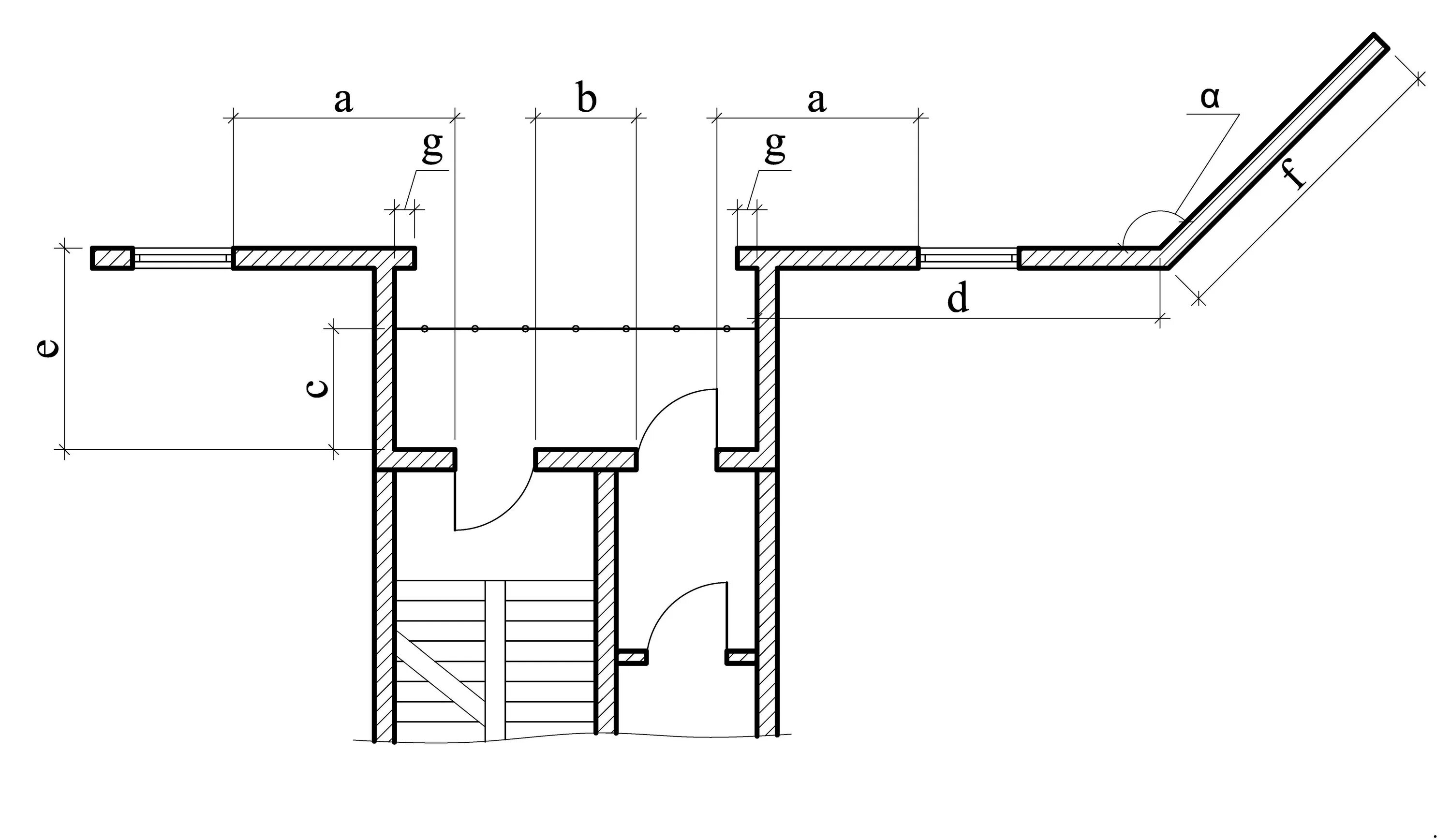
Небольшие ответвления с запасным выходом отнорки