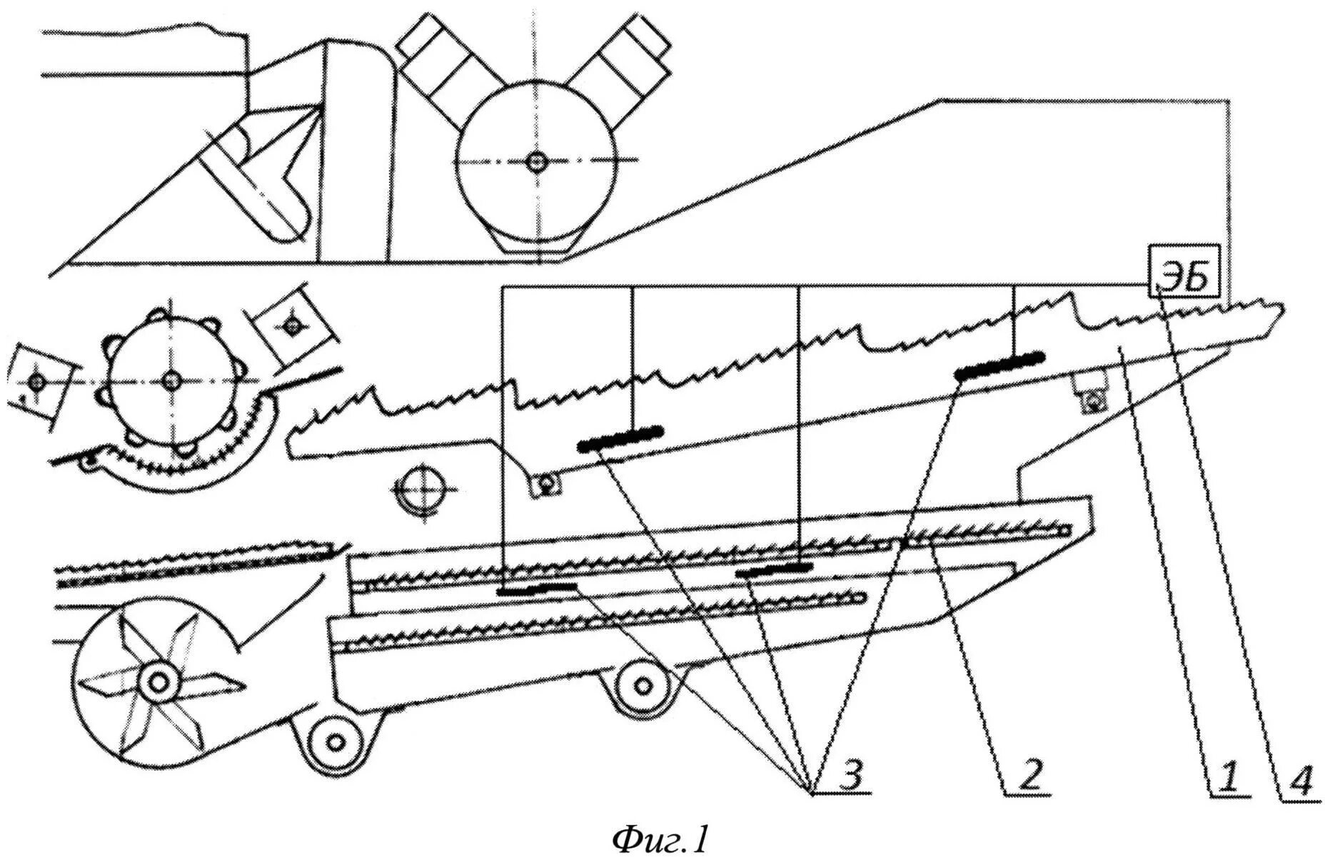
Неисправности комбайна