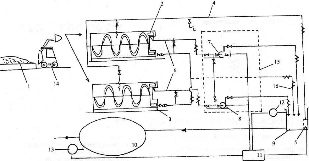
Нейтрализации осадка