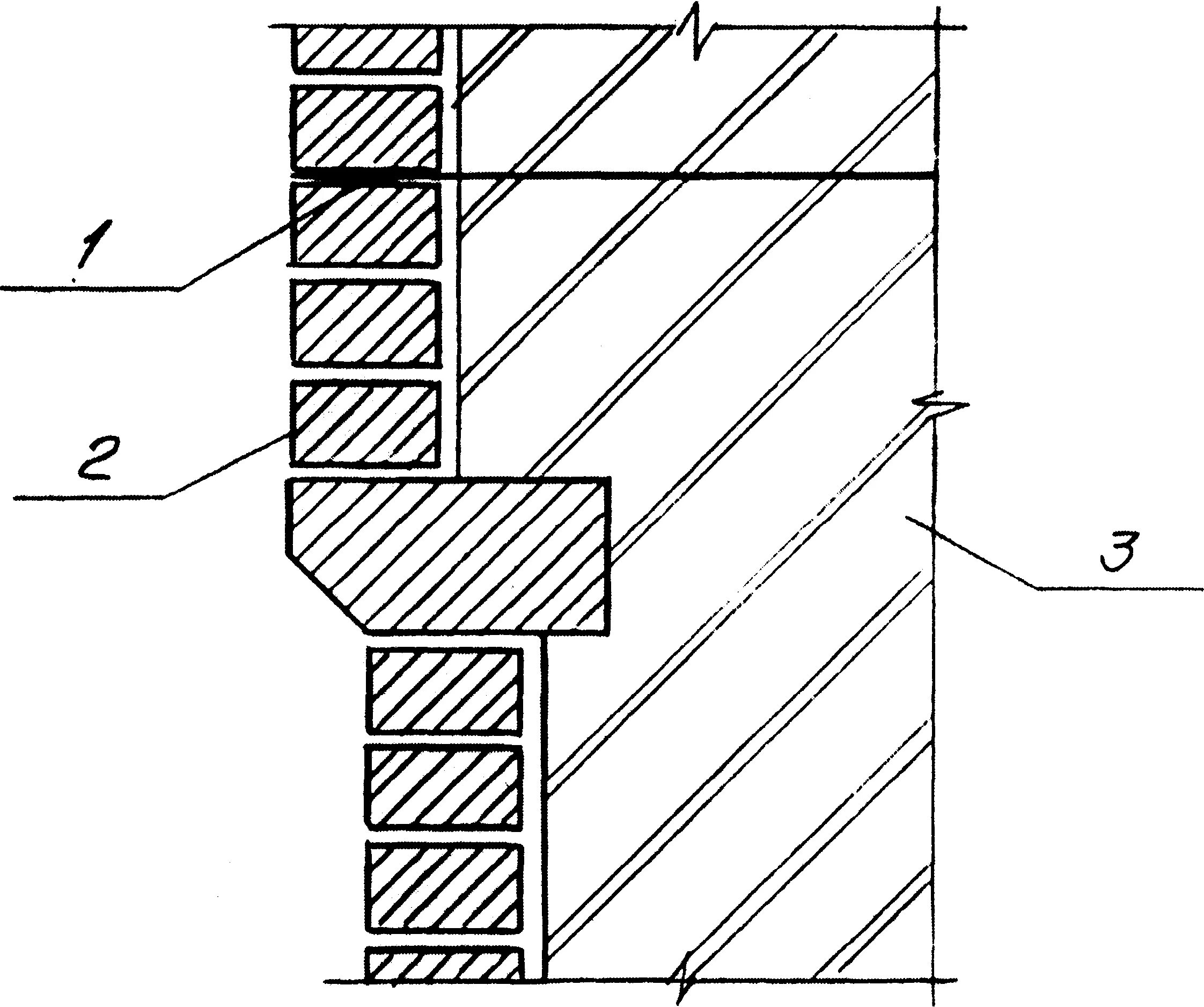
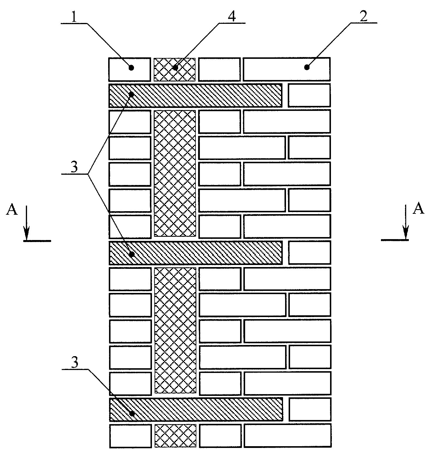
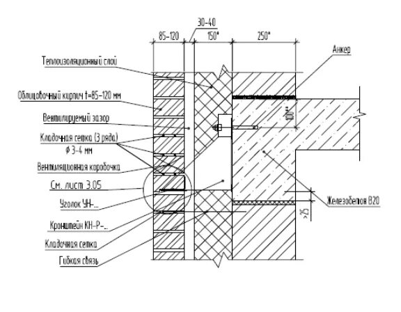
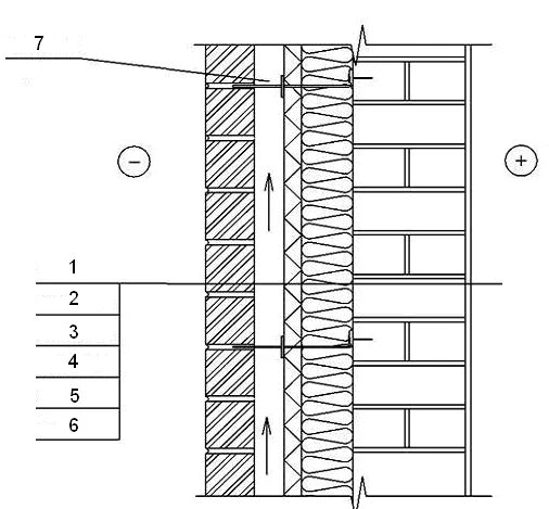
Облицовочный кирпич узлы